EasyManua.ls Logo

Sanyo C3082 - Checklist before Servicing

Sanyo C3082
104 pages
Print Icon
To Next Page IconTo Next Page
To Next Page IconTo Next Page
To Previous Page IconTo Previous Page
To Previous Page IconTo Previous Page
Loading...
Tubing precautions
Refrigerant R410A is more easily affected by dust or moisture compared with R22, thus be sure to temporarily
cover the ends of the tubing with caps or tape prior to installation.
Never use 0.0276" (0.7 mm)-thick copper tubing or tubing which is less than 0.0315" (0.8 mm) in thickness, since
air conditioners with R410A are subject to higher pressure than those using R22 and R407C.
No addition of compressor oil for R410A
No additional charge of compressor oil is permitted.
No use of refrigerant other than R410A
Never use a refrigerant other than R410A.
If refrigerant R410A is exposed to fire
Through welding, etc., toxic gas may be released when R410A refrigerant is exposed to fire. Therefore, be sure
to provide ample ventilation during installation work.
Caution in case of R410A leak
Check for possible leak points with the special leak detector for R410A. If a leak occurs inside the room,
immediately provide thorough ventilation.
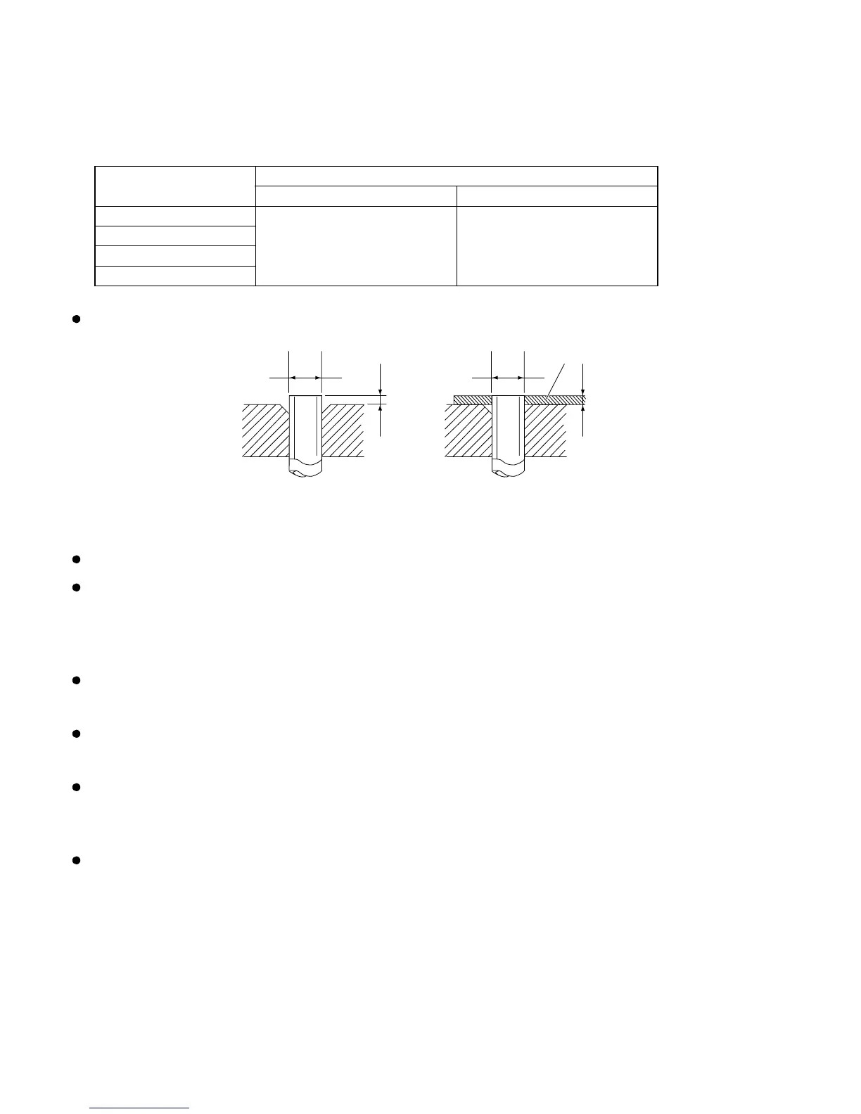
A
D
Flare tool for R410A
A
D
Conventional flare tool (R22)
Spacer
10-2. Checklist before Servicing
Use a clutch-type flare tool for R410A or the conventional flare tool. Note that sizes of the resultant flares differ
between these two tools. Where a conventional flare tool is used, make sure to observe A Specification (amount of
extrusion) by using the flare spacer.
Size of flare
Specification A
Diameter of tube D
Dia.1/4" (6.35 mm)
Dia.3/8" (9.52 mm)
Dia.1/2" (12.7 mm)
Dia.5/8" (15.88 mm)
Flare tool for R410A Conventional flare tool (for R22)
0 to 0.0196"
(0 to 0.5 mm)
0.0472"
(1.2 mm)
49

Table of Contents

Related product manuals