EasyManua.ls Logo

Sauder 420203 - Page 23

Sauder 420203
40 pages
Print Icon
To Next Page IconTo Next Page
To Next Page IconTo Next Page
To Previous Page IconTo Previous Page
To Previous Page IconTo Previous Page
Loading...
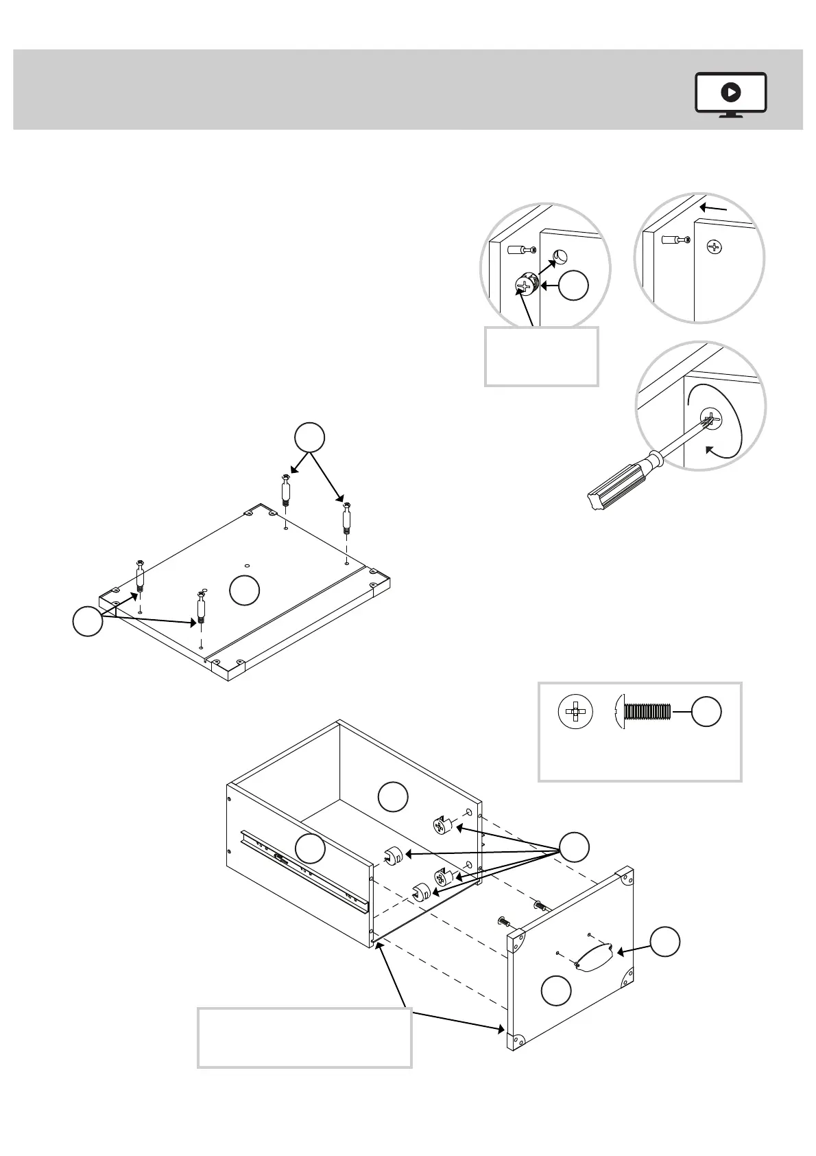
Step 19
Page 23www.sauder.com420203
å
Turn four CAM SCREWS (7) into the LARGE
DRAWER FRONT (AA).
å
Insert four SMALL HIDDEN CAMS (6) into the LARGE
DRAWER SIDES (Q and R).
å
Fasten the LARGE DRAWER FRONT (AA) to the LARGE
DRAWER SIDES (Q and R). Tighten four HIDDEN CAMS.
å
Fasten a PULL (10) to the LARGE DRAWER FRONT (AA).
Use two BLACK 1/2" MACHINE SCREWS (17).
3
21
6
The arrow must
point toward the
edge of the board.
7
7
AA
AA
Q
R
6
BLACK 1/2" MACHINE SCREW
(2 used for the PULL)
17
10
Be sure the LARGE DRAWER
BOTTOM (T) inserts into the groove
in the LARGE DRAWER FRONT (AA).

Related product manuals