EasyManua.ls Logo

Sauder 421952 - Attaching Shelves and Mechanisms

Sauder 421952
32 pages
Print Icon
To Next Page IconTo Next Page
To Next Page IconTo Next Page
To Previous Page IconTo Previous Page
To Previous Page IconTo Previous Page
Loading...
å
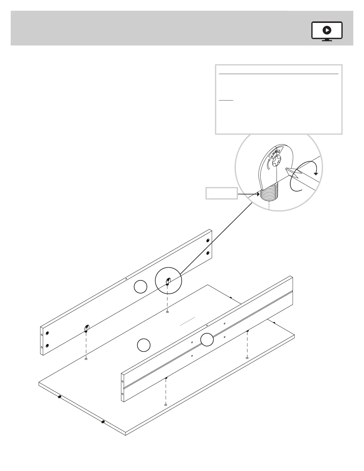
Fasten the PANELS (C and K) to the SHELF (D). Tighten
four TWIST-LOCK® FASTENERS.
Step 7
421952www.sauder.com/service
Page 11
How to use the SAUDER TWIST-LOCK® FASTENER
1. Insert the dowel end of the FASTENER into the
hole of the adjoining part.
NOTE: The dowel end of the FASTENER must
remain fully inserted in the hole of the adjoining
part while locking the FASTENER.
2. Tighten the FASTENER with a Phillips
screwdriver as tight as possible.
Dowel end
Surface with
TWIST-LOC
FASTENERS
D
C
Surface without
HIDDEN CAMS
Surface with groove
K

Related product manuals