EasyManua.ls Logo

Sauder 429430 - Step 7: Assembling the Main Cabinet Frame

Sauder 429430
28 pages
Print Icon
To Next Page IconTo Next Page
To Next Page IconTo Next Page
To Previous Page IconTo Previous Page
To Previous Page IconTo Previous Page
Loading...
Step 7
Edge with
HINGE BRACKETS
å
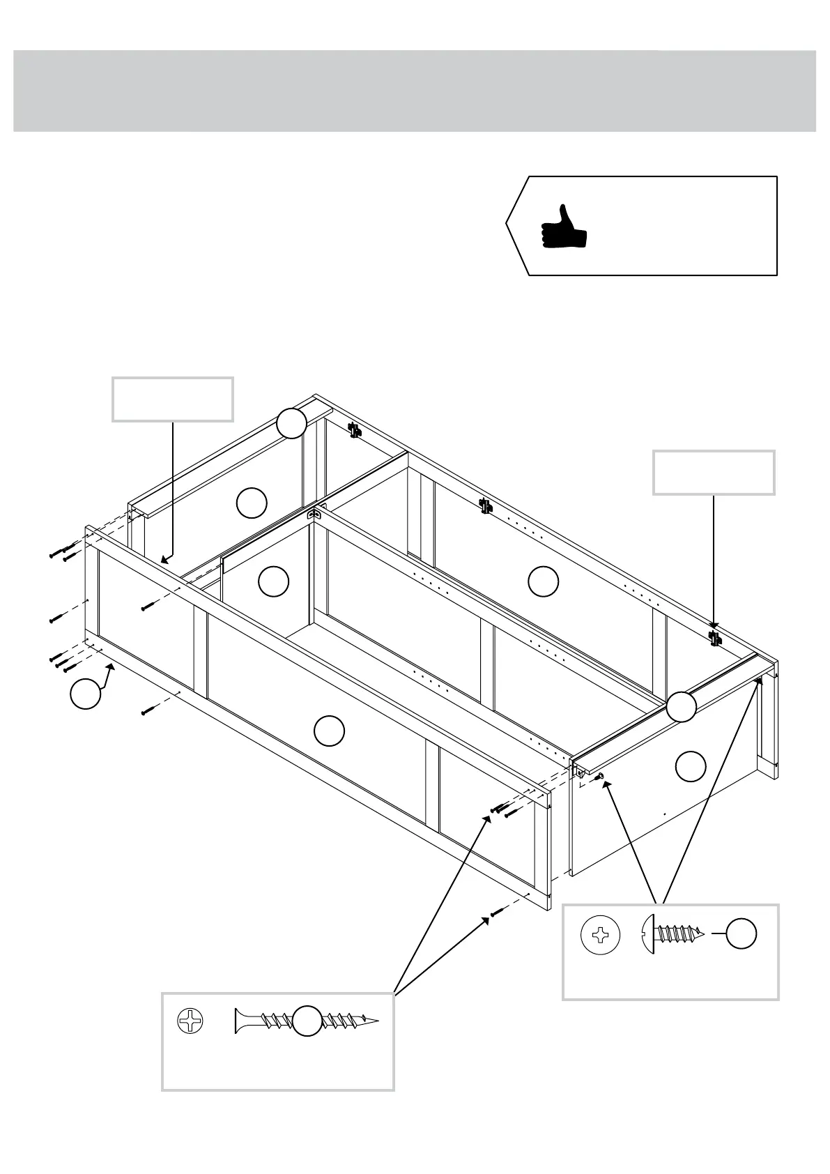
Fasten the ENDS (A and B) to the TOP (D), BOTTOM (E),
SHELF (F), VALANCES (K), and SKIRT (L). Use twenty six
1-3/8" FLAT HEAD SCREWS (13).
å
Finish fastening the ENDS (A and B) to the SKIRT (L). Use
two LARGE 1/2" PAN HEAD SCREW (19) through the
ANGLE BRACKET on the SKIRT and into the RIGHT END.
A
K
F
D
K
L
E
Edge with
HINGE BRACKETS
B
LARGE 1/2" PAN HEAD SCREW
(2 used for the ANGLE BRACKETS)
19
Finished surface
Hey! It's starting to look
like something!
1-3/8" FLAT HEAD SCREW
(26 used in this step)
13
Page 11www.sauder.com429430 / 168-0094-8

Related product manuals