EasyManua.ls Logo

Sauder Bookcase 414726 - Page 7

Sauder Bookcase 414726
24 pages
Print Icon
To Next Page IconTo Next Page
To Next Page IconTo Next Page
To Previous Page IconTo Previous Page
To Previous Page IconTo Previous Page
Loading...
å
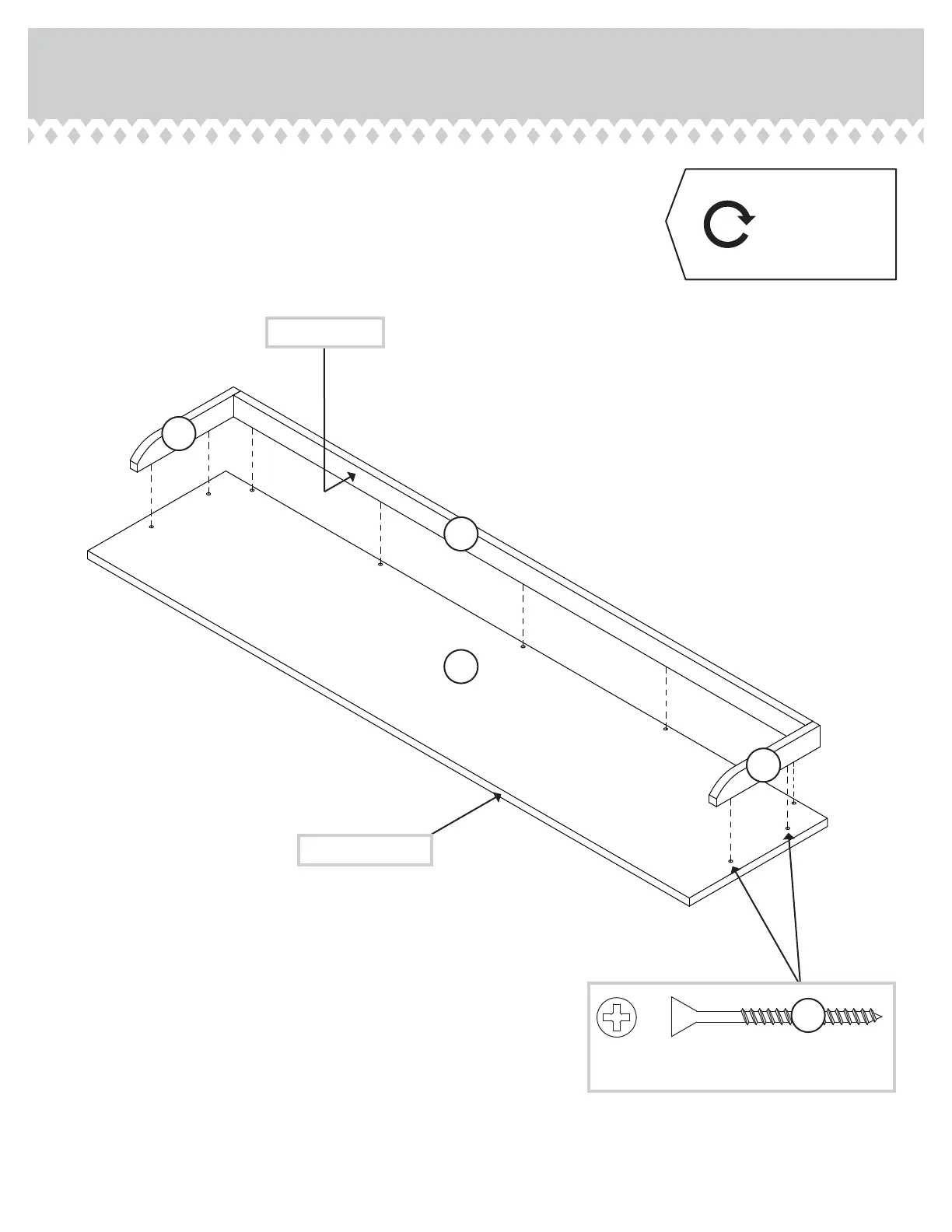
Fasten the RAILS (L and M) to the TOP (F). Use nine
BLACK 1-7/8" FLAT HEAD SCREWS (2S).
Step 3
414726www.sauder.com/services
Page 7
F
M
L
L
Surface with fewer holes
Long nished edge
Finished surface
BLACK 1-7/8" FLAT HEAD SCREW
(9 used in this step)
2S
Remember:
Righty tighty.
Lefty loosey.

Related product manuals