EasyManua.ls Logo

Sauder Harbor View 417586 - Page 9

Sauder Harbor View 417586
76 pages
Print Icon
To Next Page IconTo Next Page
To Next Page IconTo Next Page
To Previous Page IconTo Previous Page
To Previous Page IconTo Previous Page
Loading...
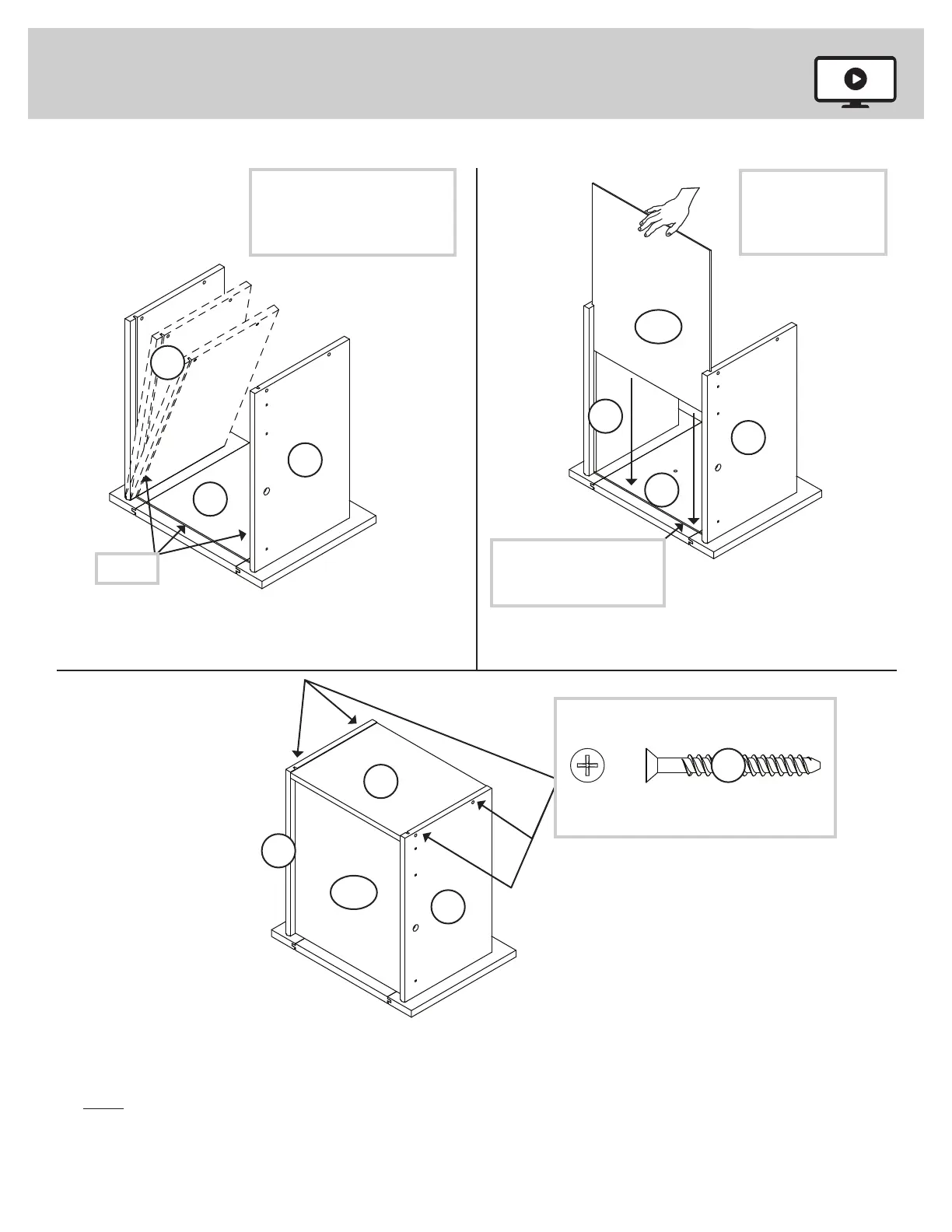
Step Step 4
VIEW THE T-LOCK BOX VIDEO
å
Fasten the DRAWER BACK (D78) to the DRAWER SIDES (D28 and D29). Use four
BLACK 1-9/16" FLAT HEAD SCREWS (30S).
å
NOTE: Be sure the DRAWER BOTTOM (D707) inserts into the groove of the
DRAWER BACK (D78).
12
3
å
Insert the DRAWER SIDES (D28 and D29) at an angle
into the slot at each end of the DRAWER FRONT (N).
å
Slide the DRAWER BOTTOM (D707) into the grooves in the
DRAWER SIDES (D28 and D29) and DRAWER FRONT (N).
The tabs should insert freely
into the slots. Gently tilt the
DRAWER SIDES side to side
until the tabs slip into the slots.
Groove
Be sure the DRAWER
BOTTOM inserts into the
DRAWER FRONT groove.
D28
D29
D707
D707
D28
D29
D78
D29
N
N
Unfi nished
surface
With the palm of
your hand, tap the
DRAWER BOTTOM
down into the groove.
D28
Start each screw a few turns before
completely tightening any of them.
BLACK 1-9/16" FLAT HEAD SCREW
(4 used in this step)
30S
417586www.sauder.com/service
Page 9

Related product manuals