EasyManua.ls Logo

Scanlab hurrySCAN 10 - Page 19

Scanlab hurrySCAN 10
39 pages
Print Icon
To Next Page IconTo Next Page
To Next Page IconTo Next Page
To Previous Page IconTo Previous Page
To Previous Page IconTo Previous Page
Loading...
hurrySCAN
®
10, digital, 1064 nm, f = 254 mm
Rev. 2.6 e
4 Installation
19
innovators for industry
6
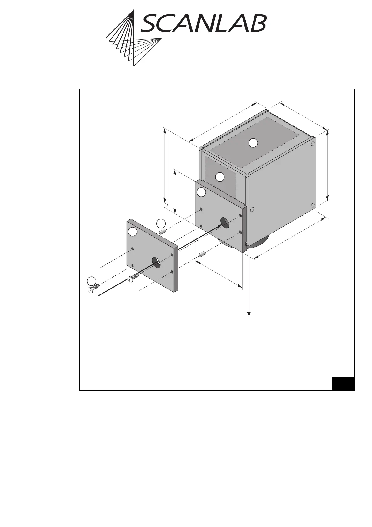
Scan head with mounting assembly (all dimensions in mm)
175
114
165
147
156
118
91.6
5
5
4
3
2
1
Legend
1 Mounting screws *
2 Laser system flange *
3 Alignment pins *
4 Scan head mounting bracket
5 Possible positions of electrical connectors
(the actual connector type and position of this
scan head are shown in figure 5)
(* not included)