EasyManua.ls Logo

Seagate Barracuda - Figure 3 Mounting Dimensions (1-Disk: 1 TB and 750 GB Models)

Seagate Barracuda
44 pages
Print Icon
To Next Page IconTo Next Page
To Next Page IconTo Next Page
To Previous Page IconTo Previous Page
To Previous Page IconTo Previous Page
Loading...
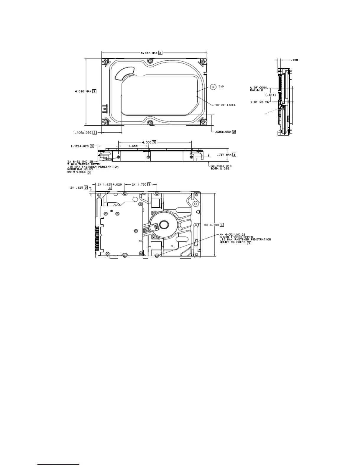
27 Barracuda SATA Product Manual, Rev. G
Configuring and Mounting the Drive www.seagate.com
Figure 3 Mounting dimensions (1-disk: 1TB and 750GB models)
Temperature
Check Point

Other manuals for Seagate Barracuda

Related product manuals