EasyManua.ls Logo

Semacon S-1125 - Page 5

Default Icon
16 pages
Print Icon
To Next Page IconTo Next Page
To Next Page IconTo Next Page
To Previous Page IconTo Previous Page
To Previous Page IconTo Previous Page
Loading...
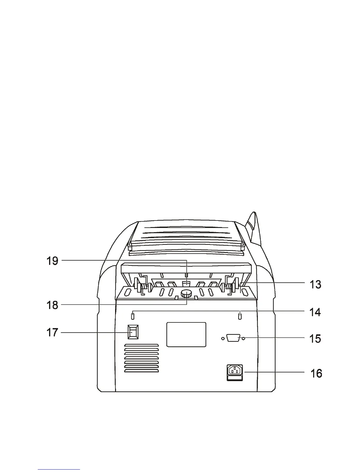
13) Hopper Sensor Connection
14) Rear Panel Access Screws
15) External Display Port (for optional External Display)
16) Power Outlet with Fuse
17) On/Off Power Switch
18) Hopper Adjustment Knob
19) Rubber Tongue Spacer
3
Figure 2
S-1100 Series Currency Counter
Rear View

Related product manuals