EasyManua.ls Logo

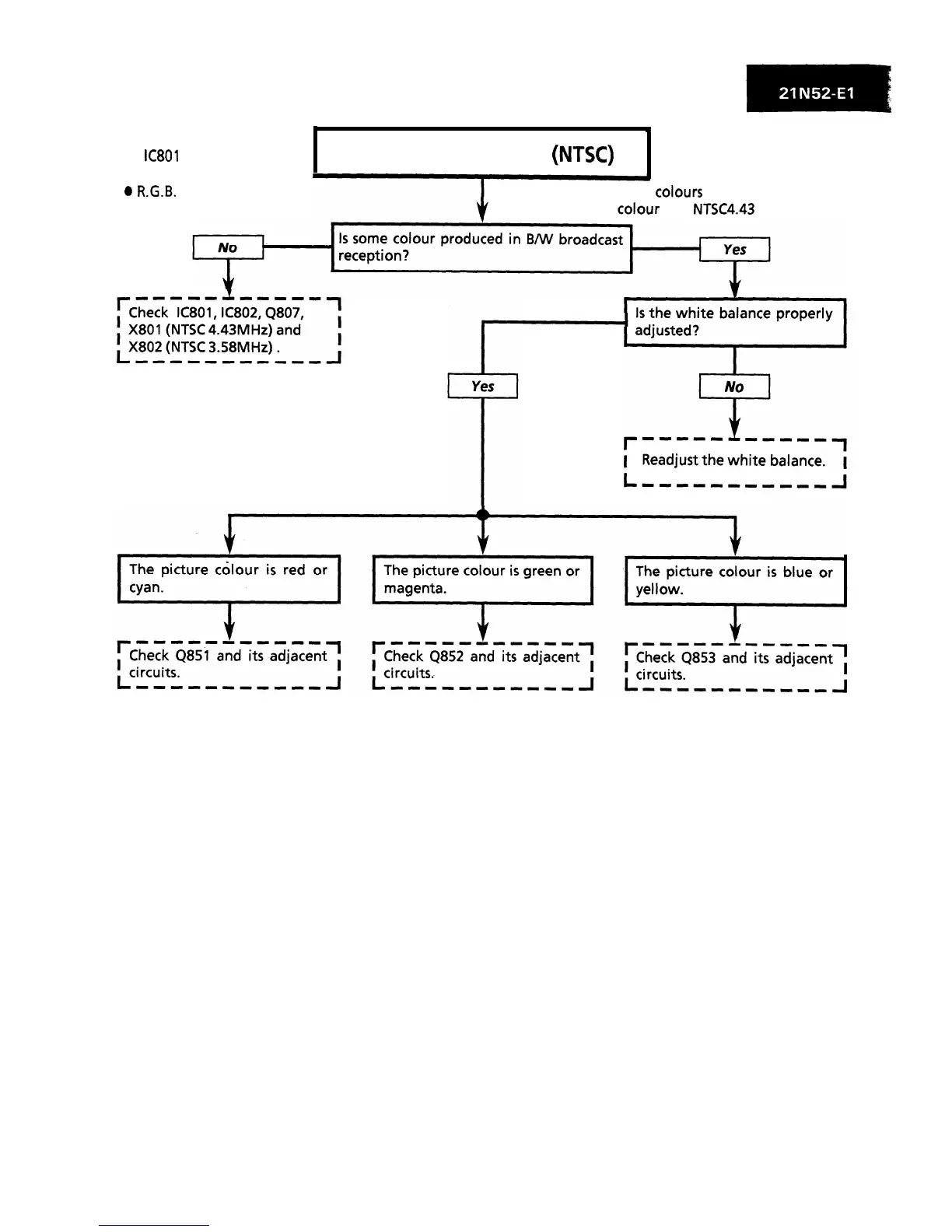
Sharp 21N52-E1 - TROUBLESHOOTING: NO SPECIFIC COLOUR (NTSC); NO SPECIFIC COLOUR (NTSC) DIAGNOSIS

Sharp 21N52-E1
44 pages
Print Icon
To Next Page IconTo Next Page
To Next Page IconTo Next Page
To Previous Page IconTo Previous Page
To Previous Page IconTo Previous Page
Loading...
CIRCUITS TO BE CHECKED:
l
IC801
and its adjacent
circuit.
0
R.G.B.
output circuit.
/
NO SPECIFIC COLOUR
(NTSC)
Specific colours are not produced
in
colour
VCR NTSC4.43 reception.
19

Related product manuals