EasyManua.ls Logo

Sharp 27U-S60 - Schematic Diagram Description; Waveform Measurement Conditions; Signal Waveform Examples

Sharp 27U-S60
30 pages
Print Icon
To Next Page IconTo Next Page
To Next Page IconTo Next Page
To Previous Page IconTo Previous Page
To Previous Page IconTo Previous Page
Loading...
14
27U-S60
27U-S100
DESCRIPTION OF SCHEMATIC DIAGRAM
NOTES:
1. The unit of resistance "ohm" is omitted.
(K=k
=1000
, M=M
)
2. All resistors are 1/16 watt, unless otherwise noted.
3. All capacitors are µ F, unless otherwise noted.
(P=pF=µµF)
4. (G) indicates ±2% tolerance may be used.
5. indicates line isolated ground.
VOLTAGE MEASUREMENT CONDITIONS:
1. All DC voltages are measured with DVM connected
between points indicated and chassis ground, line
voltage set at 120V AC and all controls set for normal
picture unless otherwise indicated.
2. All voltages measured with 1000µ V B & W or Color
signal.
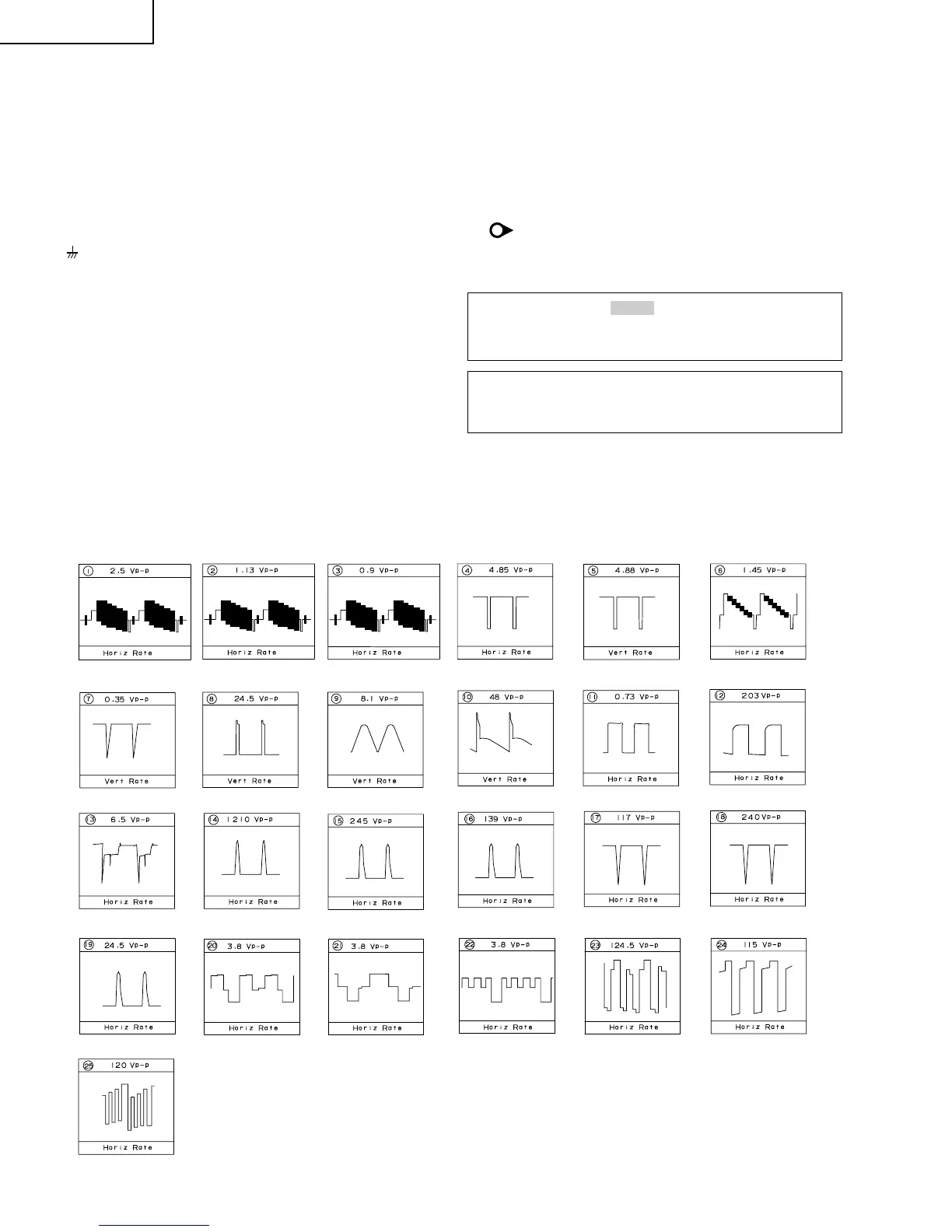
WAVEFORM MEASUREMENT CONDITIONS:
1. Photographs taken on a standard gated color bar
signal, the tint setting adjusted for proper color. The
wave shapes at the red, green and blue cathodes of
the picture tube depend on the tint, color level and
picture control.
2. indicates waveform check points (See chart,
waveforms are measured from point indicated to
chassis ground.)
å
AND SHADED ( ) COMPONENTS
= SAFETY RELATED PARTS.
'
MARK= X-RAY RELATED PARTS.
This circuit diagram is a standard one, printed circuits
may be subject to change for product improvement
without prior notice.
WAVEFORMS

Related product manuals