EasyManua.ls Logo

Sharp DV-NC70 - Maintenance Checks and Time; Mechanical Parts Inspection Guide; Pickup Cares and Handling

Sharp DV-NC70
99 pages
Print Icon
To Next Page IconTo Next Page
To Next Page IconTo Next Page
To Previous Page IconTo Previous Page
To Previous Page IconTo Previous Page
Loading...
8
DV-NC70/W
DV-NC70X/RU
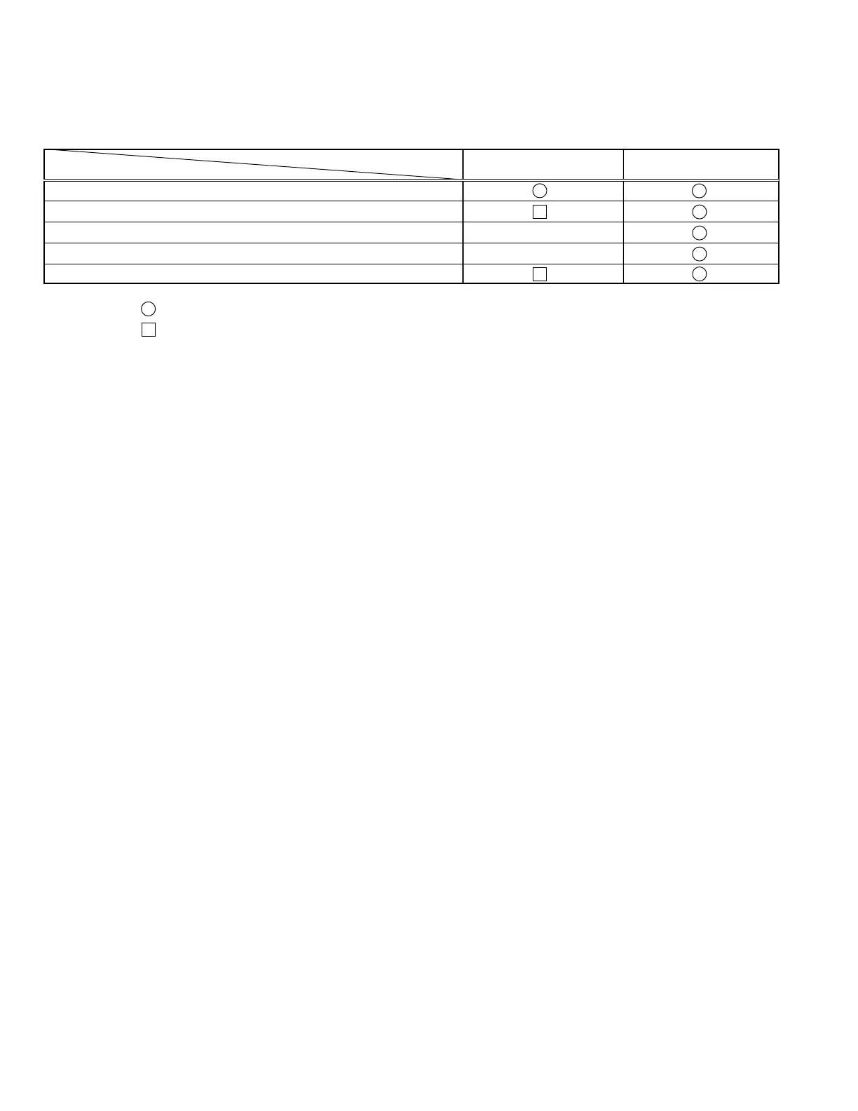
5. MAINTENANCE CHECK ITEMS AND EXECUTION TIME
Parts
Maintained
1,000 hrs.
2,000 hrs.
Pickup
Spindle Unit
Sled Motor
Loading Motor
Belt
Note : Part Replacement
: Cleaning
(For cleaning, use a lint-free cloth danpened with pure isopropyl alcohol.)
Use the following table as a guide to maintain the mechanical parts in good operating condition.
CARES WHEN USING THE PICKUP
1. The laser light having wavelength 650 nm is emitted from the objective lens. BE CAREFUL SO THAT THE LASER
LIGHT DOES NOT ENTER DIRECTLY INTO YOUR EYE.
2. The semiconductor laser may be easily damaged by electrostatic charges. When handling the pickup, take care so that
the electrostatic charge is not generated.
3. The semiconductor laser may be easily damaged by overcurrent. Use the power supply unit which does not give any
spike current when the power is turned on and off.
4. Carefully remove the dust and dirt from the objective lens with the lens blower.
When handling the objective lens, take due care so that it is not contaminated with fingerprint, etc. If the objective lens
is contaminated, impregnate the cleaning paper with a small quantity of solvent (isopropyl alcohol), and gently wipe to
clean.
5. The ozone layer depleting components (ODC) are not used in the production process for the product.
MECHANICAL PARTS REGUIRING PERIODICAL INSPECTION

Related product manuals