EasyManua.ls Logo

Sharp EL-W535TG - Last Answer Recall; Using the ANS Key

Sharp EL-W535TG
69 pages
Print Icon
To Next Page IconTo Next Page
To Next Page IconTo Next Page
To Previous Page IconTo Previous Page
To Previous Page IconTo Previous Page
Loading...
30
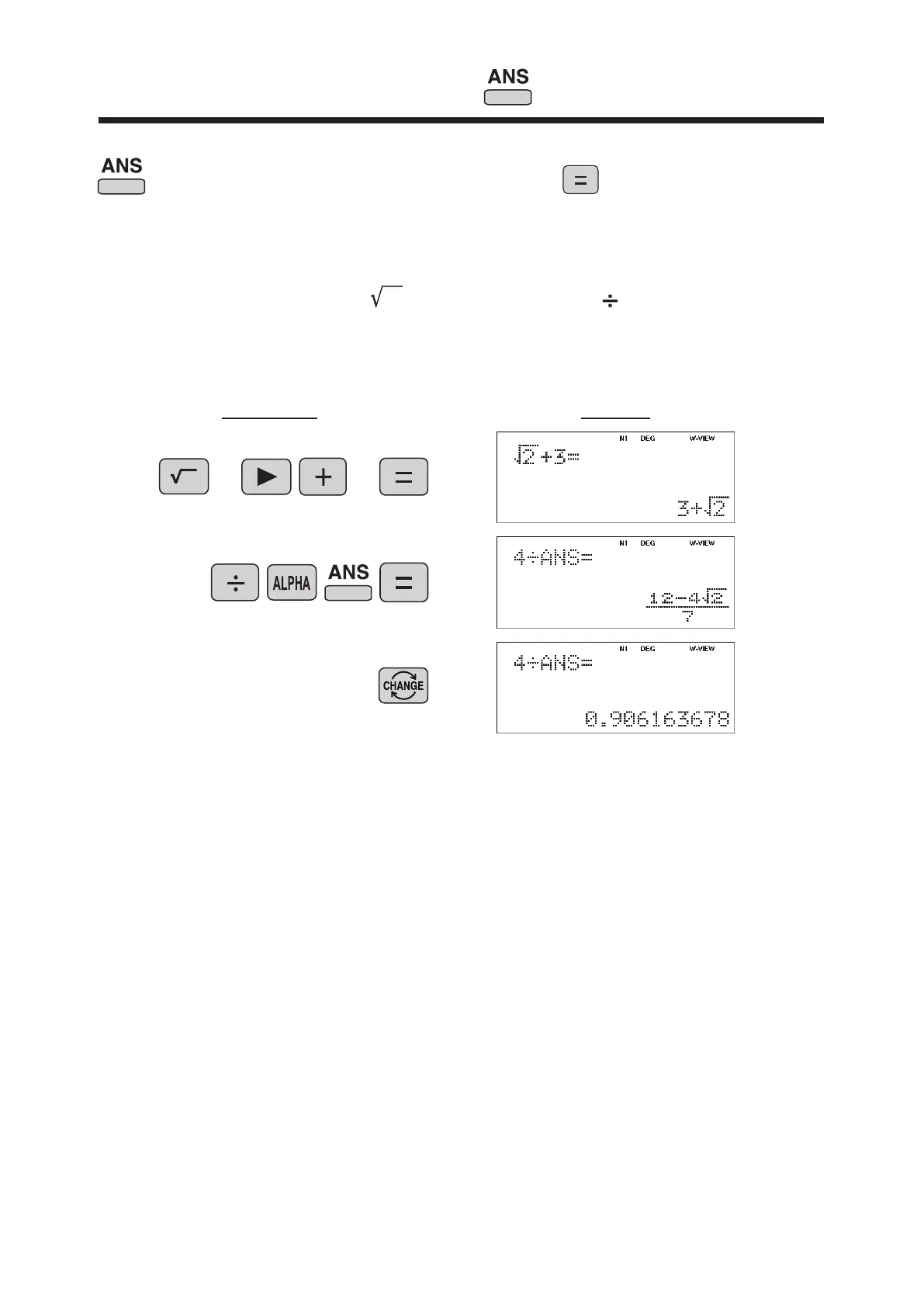
<Example>
y = 4 xandx = 2 + 3
Operation Display
2 3
4
Last Answer Memory
Recalls the last answer calculated by pressing
Solve for x first and then solve for y using x.

Other manuals for Sharp EL-W535TG

Related product manuals