EasyManua.ls Logo

Sharp HT-SB140 - Remote Control Preparation and Operation

Sharp HT-SB140
120 pages
Print Icon
To Next Page IconTo Next Page
To Next Page IconTo Next Page
To Previous Page IconTo Previous Page
To Previous Page IconTo Previous Page
Loading...
EN
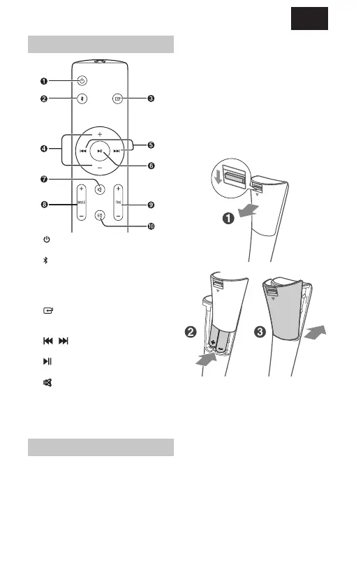
Remote control
1. Switch the unit between ON and
STANDBY mode.
2.
Select the Bluetooth mode.
Press and hold to activate the
pairing function in Bluetooth mode
or disconnect the existing paired
Bluetooth device.
3.
Select the play function.
4. VOL +/- – Increase/decrease the
volume level.
5.
/ Skip to previous/next track
in Bluetooth mode.
6.
Play/pause/resume playback in
Bluetooth mode.
7.
(MUTE) Mute or resume the
sound.
8. BASS +/- – Adjust bass level.
9. TRE +/- – Adjust treble level.
10. EQ – Select a preset sound mode.
First time installation
Remote control preparation
The provided Remote Control allows the
unit to be operated from a distance.
Even if the Remote Control is operated
within the e ective range 6m, remote
control operation may be impossible
if there are any obstacles between the
unit and the remote control.
If the Remote Control is operated near
other products which generate infrared
rays, or if other remote control devices
using infra-red rays are used near the
unit, it may operate incorrectly. Conver-
sely, the other products may operate
incorrectly.
Remote control battery
replacement
1. Press and slide the back cover to
open the battery compartment of the
remote control.
2. Insert two AAA size batteries
(included). Make sure the (+) and (–)
ends of the batteries match the (+)
and (–) ends indicated in the battery
compartment.
3. Close the battery compartment cover.
EN

Other manuals for Sharp HT-SB140

Related product manuals