EasyManua.ls Logo

Sharp HT-X1H - Page 6

Sharp HT-X1H
88 pages
Print Icon
To Next Page IconTo Next Page
To Next Page IconTo Next Page
To Previous Page IconTo Previous Page
To Previous Page IconTo Previous Page
Loading...
HT-X1H
1 – 3
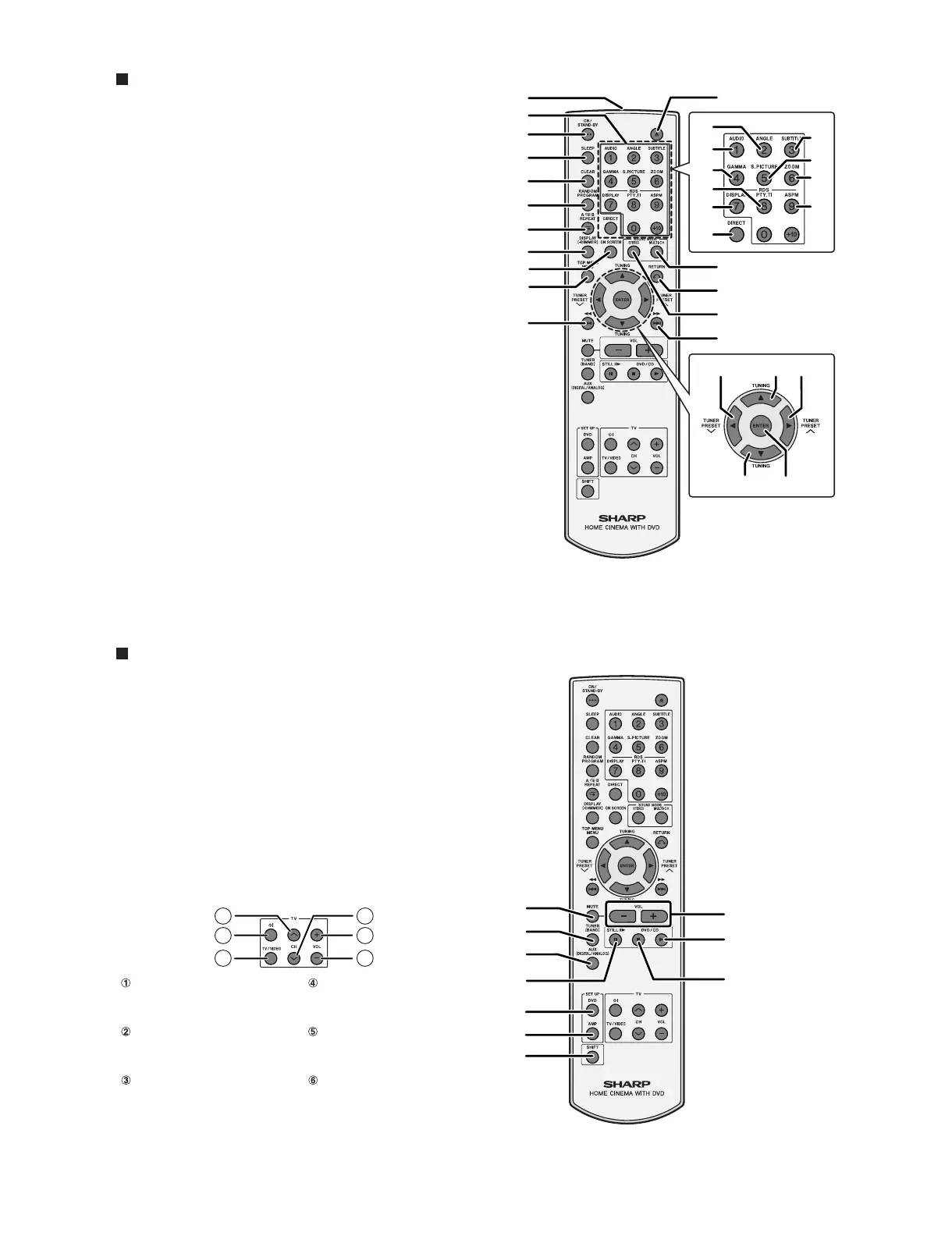
Remote control
1. Remote Control Transmitter
2. Direct Number Buttons
3. On/Stand-by Button
4. Sleep Button
5. Clear Button
6. Random or Programme Button
7. A - B Repeat or Repeat Button
8. Unit Display Select or Dimmer Button
9. On Screen Display On/Off Button
10. Top Menu or Menu Button
11. Chapter (Track) Skip Down or Fast Reverse Button
12. Disc Eject Button
13. Multi Channel Select Button
14. Return Button
15. Stereo (2 channel) Select Button
16. Chapter (Track) Skip Up or Fast Forward Button
17. Angle Button
18. DVD Audio Language Select or
CD Audio Output Select Button
19. Gamma Button
20. RDS Programme Type/Traffic Information
Search Button
21. RDS Display Mode Select Button
22. Direct Button
23. Subtitle Button
24. Super Picture Button
25. Zoom Button
26. RDS ASPM (Auto Station Programme Memory) Button
27. Tuner Preset Down or Cursor Button
28. Tuning Up or Cursor Button
29. Tuner Preset Up or Cursor Button
30. Tuning Down or Cursor Button
31. Enter Button
1
3
13
4
5
6
7
8
9
11
2
15
16
14
12
10
17
18
19
21
22
23
25
26
24
20
29
30 31
2827
Remote control
1. Mute Button
2. Tuner (Band) Button
3. Auxiliary Button
4. Frame Advance or Pause Button
5. DVD Initial Setting Button
6. Amplifier Initial Setting Button
7. Shift Button
8. Volume Up and Down Buttons
9. Play Button
10. Stop Button
4
3
5
6
7
8
9
10
1
2
TV Operation Buttons
You can operate some functions of SHARP' TVs with the remote
control of this system.
However, some models cannot be operated.
TV Channel Up Button TV Channel Down Button
Switches the TV channel
up.
Switches the TV channel
down.
TV On/Stand-by Button TV Volume Up Button
Sets the TV power to "ON"
or "STAND-BY".
Turns up the TV volume.
TV/VCR Input Select But-
ton
TV Volume Down Button
Switches the input to TV or
VCR.
Turns down the TV volume.
1
2
3
4
5
6

Other manuals for Sharp HT-X1H

Related product manuals