EasyManua.ls Logo

Sharp LC-15AV7U - Page 33

Sharp LC-15AV7U
73 pages
Print Icon
To Next Page IconTo Next Page
To Next Page IconTo Next Page
To Previous Page IconTo Previous Page
To Previous Page IconTo Previous Page
Loading...
8-5
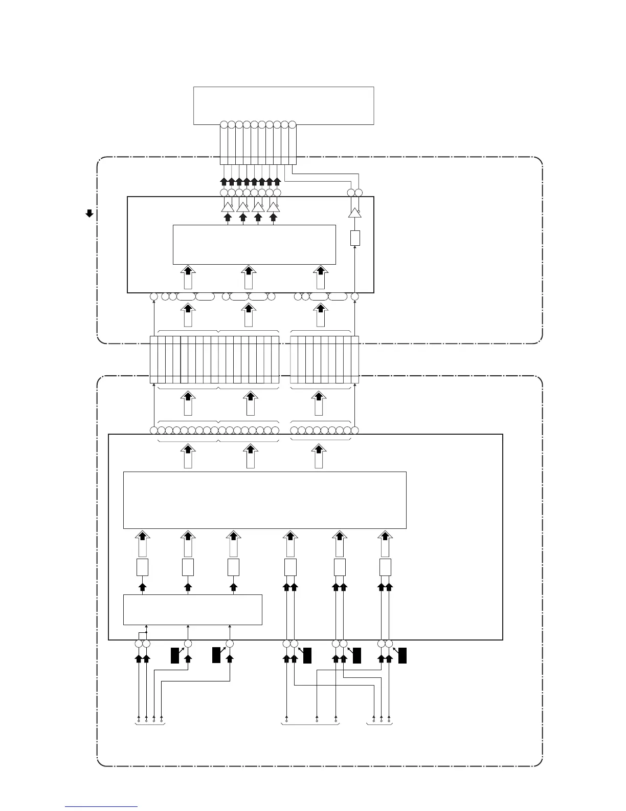
LCD Block Diagram
A7121BLLCD
CN1201
TO
IF/VIDEO
BLOCK
DIAGRAM
MAIN CBA LVDS CBA UNIT
RF-CVBS
S-VIDEO-C
IC1202 (LCD DRIVE / SIGNAL PROCESS)
67
57
76
S-VIDEO-Y
TO
IF/VIDEO
BLOCK
DIAGRAM
TO DTV
MODULE
BLOCK
DIAGRAM
VIDEO-Y
VIDEO-Pb
VIDEO-Pr
LCD MODULE
144
66
56
75
143
142
141
140
139
138
137
133
132
131
130
129
128
127
126
117
116
115
114
113
112
111
110
149
A/D
VIDEO
SIGNAL
PROCESS
LCD RGB
SIGNAL
PROCESS
R
B
G
Y
Pb
Pr
B(EVEN)
G(ODD)
R(ODD)
CN1202
A/D
A/D
A/D
A/D
A/D
R
B
G
DE
QCLKL
CVBS
C
Y
WF3
WF2
WF4
WF5
WF6
VIDEO-IN1
71
DTV-Y
DTV-Pb
73
54
DTV-Pr
64
125
QRL(1)18 16
QRL(0)19 15
QRL(3)16 18
QRL(2)17 17
QRL(5)14 20
QRL(4)15 19
QRL(7)12 22
QRL(6)13 21
QGL(0)925
QGL(1)826
QGL(2)727
QGL(3)628
QGL(4)529
QGL(5)430
QGL(6)331
QGL(7)232
DE25 9
QBL(0)20 6
QBL(1)19 7
QBL(2)18 8
QBL(3)17 9
QBL(4)16 10
QBL(5)15 11
QBL(6)14 12
QBL(7)13 13
QCLKL24 2
CN1401
CN1402
IC1401 (LVDS TRANSMITTER)
48
47
40
39
CN1411
TTL
PARALLEL
TO SERIAL
CONVERTER
PLL
46
45
42
41
38
37
TA(-)5
TA(+)6
TB(-)8
TB(+)9
TC(-)11
TC(+)12
TD(-)20
TD(+)19
TCLK(-)14
TCLK(+)15
2
30
3
50
52
~
54
56
~
4
14
6
8
~
10
12
~
15
31
16
18
20
~
22
24
~
DE
VIDEO SIGNAL
NOTE: CBA AND PWB MEANS PRINTED WIRING BOARD.

Table of Contents

Other manuals for Sharp LC-15AV7U

Related product manuals