EasyManua.ls Logo

Sharp LC-32LE705E/S - Page 16

Sharp LC-32LE705E/S
58 pages
Print Icon
To Next Page IconTo Next Page
To Next Page IconTo Next Page
To Previous Page IconTo Previous Page
To Previous Page IconTo Previous Page
Loading...
LC-32/40/46LE705E/S, LU705E/S, LX705E, LC-52LE705E/S
1 – 8
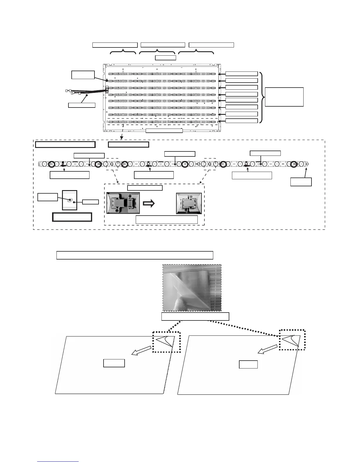
8. Handling notes (52inch models).
1. Set and connect LED-PWBs.
2. Peel off the lamination film of LENS SHEET on the both sides.
*Same for other lines.
Connect LED-PWBs
Set and connect LED-PWBs
Boss fitting
(showing in blue circles)
RUNTKA656WJ**
RUNTKA658WJ**
RUNTKA658WJ**
LED-PWB
Boss of
BL-CHASSIS
TERMINATOR
is Attached
LED-PWB set direction
(arrow mark to harness side)
LED-PWB set direction
(arrow mark to harness side)
LED-PWB set direction
(arrow mark to harness side)
Insert the connector horizontally mutually.
Do not add impossible power.
RUNTKA***WJ01
Bottom Side (C-PWB side)
RUNTKA656WJ01 / WJ02
RUNTKA***WJ02
RUNTKA***WJ01
RUNTKA***WJ02
RUNTKA***WJ01
RUNTKA***WJ02
RUNTKA***WJ02
RUNTKA***WJ01
Top Side
CAUTION
RUNTKA***WJ01
and RUNTKA***WJ02.
It being alternated
RUNTKA658WJ01 / WJ02 RUNTKA658WJ01 / WJ02
BL-CHASSIS
INSIDE of
WIRE HARNESS
FRONT
BACK
Peel off the lamination film of LENS SHEET on the both sides.
Peel off the lamination film.

Related product manuals