EasyManua.ls Logo

Sharp MZ-5600 - 8. MFD Interface Circuit; 8-1 Block Diagram; 8-2 Operational Description

Sharp MZ-5600
143 pages
Print Icon
To Next Page IconTo Next Page
To Next Page IconTo Next Page
To Previous Page IconTo Previous Page
To Previous Page IconTo Previous Page
Loading...
8·'
Block diagram
8.
MFD INTERFACE CIRCUIT
8237
DMAC
765
FDC
-
MZ-5600
t
~
_______
....,,)
Control signal
HLDA~
HRQ+-
L---
AO
DACKII----...::.~
DACK
WR
~r8CompenS8tio~
r---~
DATA~~'~
ORQ
DREQI
~
delay
lE-
DRQ
WCLK.I'1'Ir------1
Wrlta
clock
I
WR
DATA
\---
I
A7
RD
DATAIE-----I
~
RD
DATA
IDO-7(~
_____________________
~
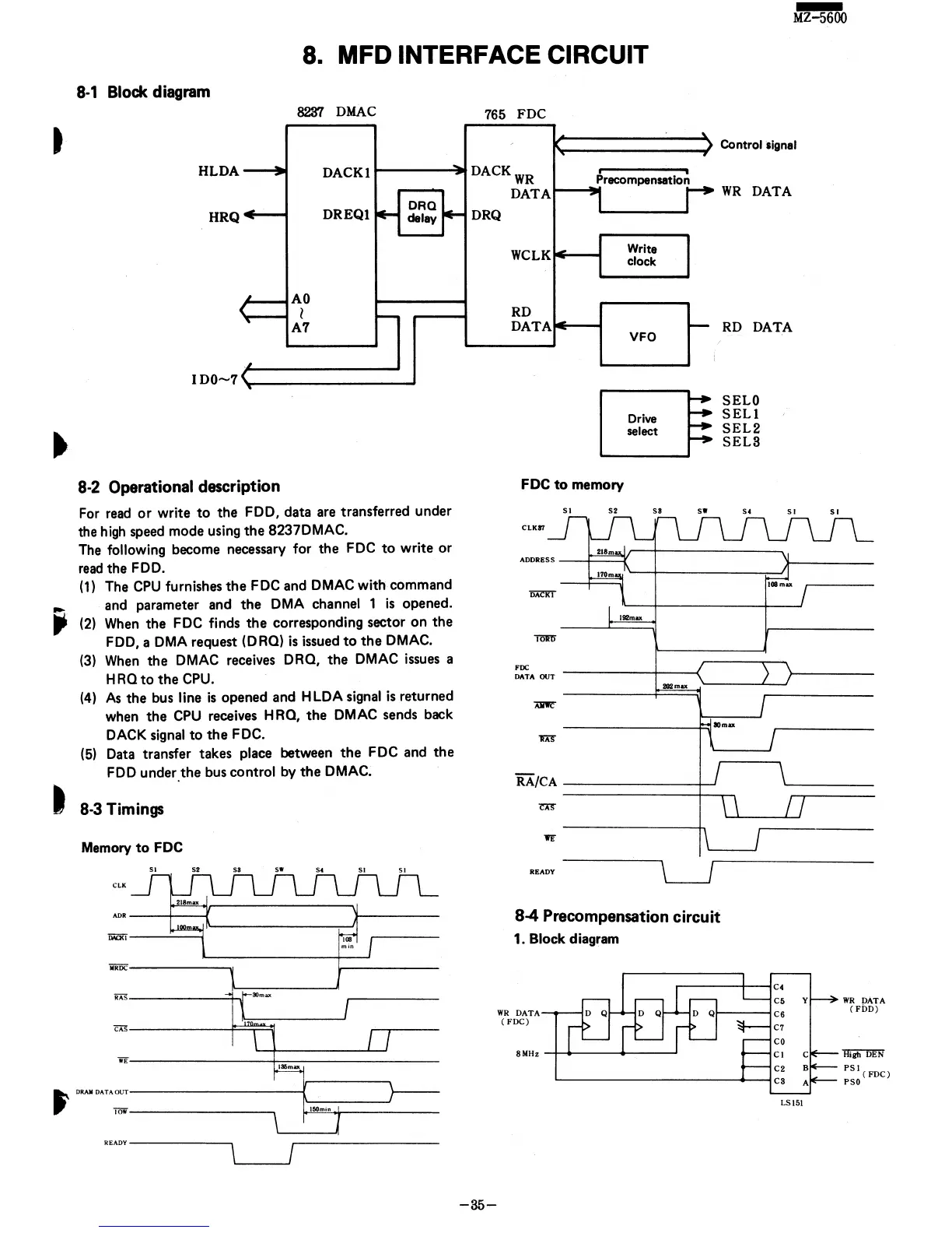
8·2 Operational description
For read
or
write
to
the
FDD, data are transferred under
the
high
speed mode using
the
8237DMAC.
The
following become necessary for the FDC
to
write or
read
the FDD.
(1)
The
CPU
furnishes
the
FDC and
DMAC
with command
and parameter and
the
DMA
channel 1
is
opened.
(2)
When
the
FDC finds
the
corresponding sector
on
the
FDD, a
DMA
request
(DRa)
is
issued
to
the
DMAC.
(3)
When
the
DMAC
receives
DRa,
the
DMAC
issues a
HRa
to
the
CPU.
(4)
As
the bus line
is
opened and HLDA signal
is
returned
when
the
CPU
receives H
Ra,
the
DMAC
sends back
OACK
signal
to
the
FOC.
(5)
Data transfer takes place between
the
FOC and
the
FOO
under,the bus control by
the
OMAC.
a 8·3 Timings
Memory
to
FDC
SI
52
5'
SW
SI
CLK
ADR
__
+-_-{
MRDC-------.,
RA5---
__
---=!-.,r
..-.--~~====:...-
ISfima
VFO
~
L::Y
FDC
to
memory
CLK81
SELO
SELl
SEL2
SEL3
:~A
OUT
------4---<
,'--
__
-'---1
...
mu
RA/CA
------
_
_4___'
READY
LJ
8-4 Precompensation circuit
1. Block diagram
WR
DATA
(FDC)
8MHz
C4
C6
CS
C7
CO
Cl
C2
CS
Y
C
B
A
~
DRAMDATA=
11'
IOW--------...,
LSI51
READY-----~
L-------.J!
-35-
WR
DATA
(FOD)
High DEN
PSI
PSO
(FDC)

Other manuals for Sharp MZ-5600

Related product manuals