EasyManua.ls Logo

Sharp MZ-5600 - Page 68

Sharp MZ-5600
143 pages
Print Icon
To Next Page IconTo Next Page
To Next Page IconTo Next Page
To Previous Page IconTo Previous Page
To Previous Page IconTo Previous Page
Loading...
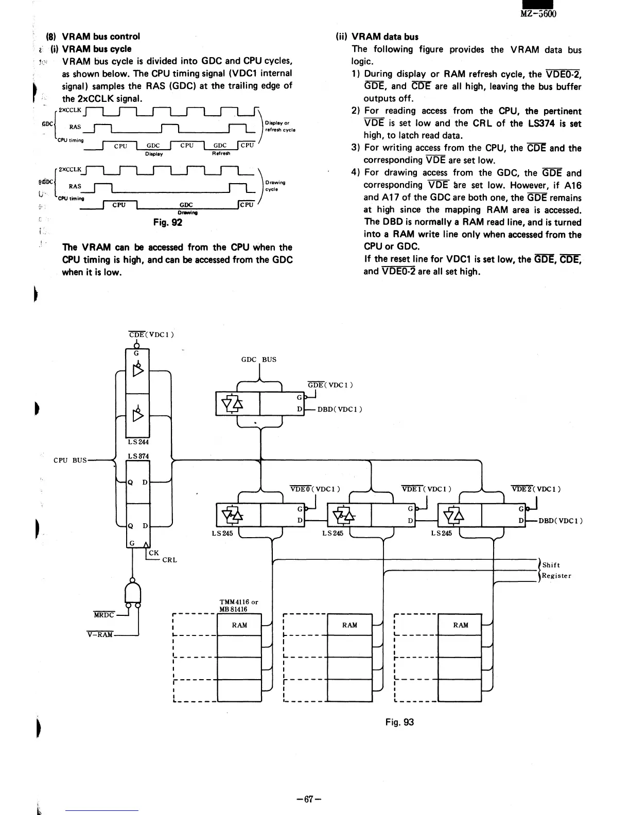
(8)
VRAM bus control
< (j) VRAM bus cycle
.
1",
VRAM
bus cycle
is
divided into GDC and CPU cycles,
as
shown below. The
CPU
timing signal (VDC1 internal
signal) samples
the
RAS (GDC)
at
the
trailing edge of
r;
the 2xCCLK signal.
{
2XCCLK
GDC
RAS
CPUtiming~
CPU
)
Display or
refresh
cycle
GDC
[CPU
GDC
CPU
Display
Refresh
.
{pa~
)
e,o.
DC
RAS
ro
r--I
Drawing
\.;"
CPUtimi~
1
_________
---"
L
cycle
~
CPU
GDC
(CPU
0..,1"11
Fig.
92
The VRAM can
be
aecessed from
the
CPU when
the
CPU
timing
is
high,
and
can
be
aecessed from
the
GDC
when it
is
low.
CPU
BUS
CDE(VDC1)
G
LS244
LS374
GDC
BUS
TMM4116
or
MB81416
-
MZ-5600
(jj)
VRAM
data
bus
The following figure provides
the
VRAM data bus
logic.
1) During display
or
RAM
refresh cycle,
the
VDEO-2,
GDE, and CDE are
all
high, leaving the bus buffer
outputs
off.
2) For reading aecess from
the
CPU,
the
pertinent
VDE
is
set
low and
the
CR
L
of
the
LS374
is
set
high,
to
latch read data.
3)
For writing access from
the
CPU,
the
CDE and
the
corresponding VDE are set low.
4)
For drawing access from
the
GDC, the GDE and
corresponding
VDE lire set low. However, if A16
and A 17
of
the
GDC are both one,
the
GDE remains
at
high since
the
mapping
RAM
area
is
accessed.
The DBD
is
normally a
RAM
read line, and
is
turned
into
a
RAM
write line only when aecessed from
the
CPU
or
GDC.
DBD(VDC1)
If
the
reset line for
VDC1
is
set low,
the
GDE,
CDE,
and
VDEO-2 are
all
set high.
DBD(VDC1)
~
Shift
Ir----------+----
Register
1,----
r------
,...------,...----.,
r - - - - - -
,...------.
I
I
RAM
~
- - - - -
-\----1
I
I
:------+----1
r - - - - -
-+-----1
I
I
..
-----
-'------'
I
I
RAM
I- - - - - -
-+-----1
I
I
L.._
----+----1
I
I
~-
----+-----1
I
I
.-
---- -
-'----~
-67-
I
RAM
:------+_---1
I
~------+-----I
I
I
~
- - - -
-1-----1
I
I
L
______
'--
__
--'
Fig. 93

Other manuals for Sharp MZ-5600

Related product manuals