EasyManua.ls Logo

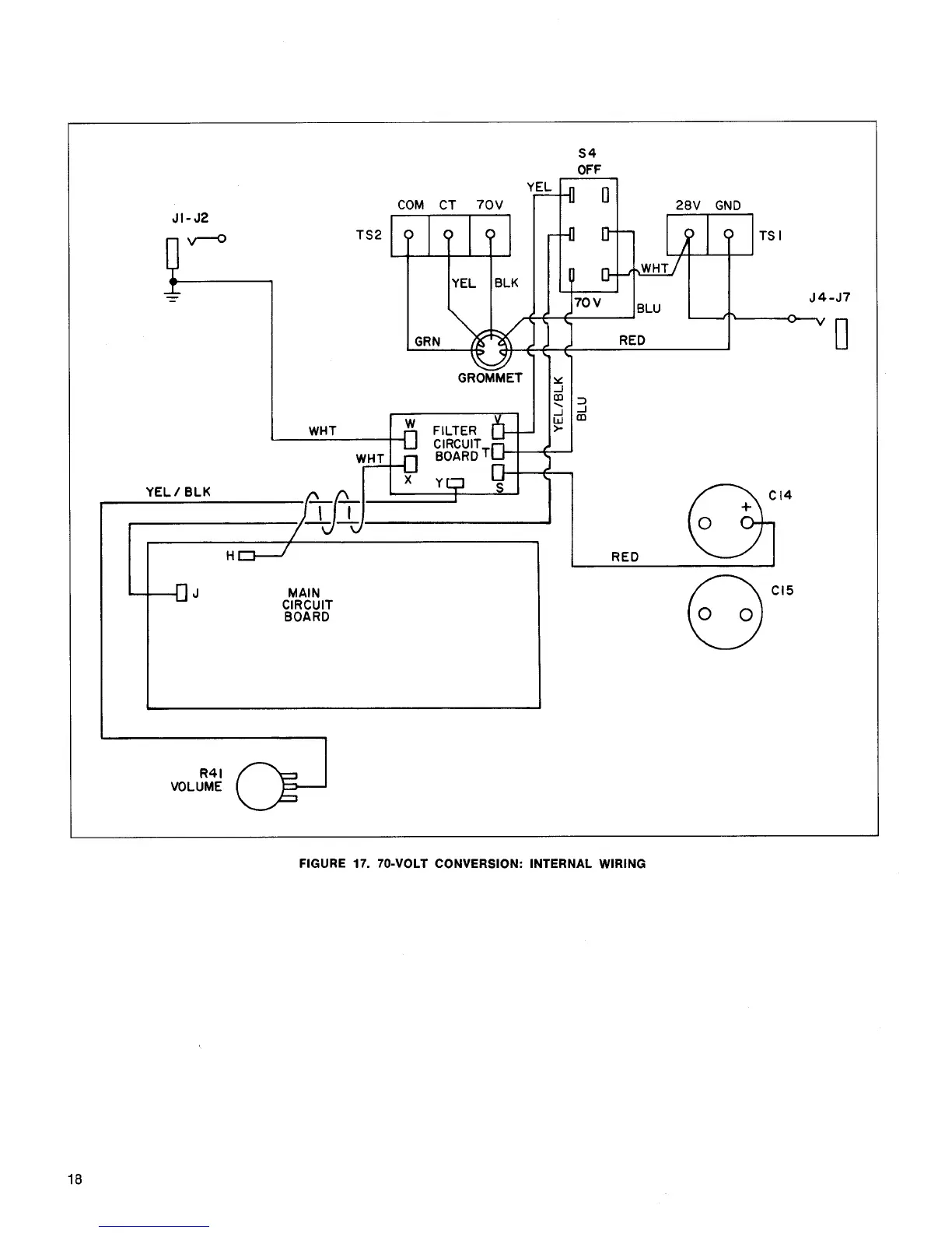
Shure SR105 - 70-Volt Conversion: Internal Wiring

Shure SR105
34 pages
Print Icon
To Next Page IconTo Next Page
To Next Page IconTo Next Page
To Previous Page IconTo Previous Page
To Previous Page IconTo Previous Page
Loading...
S
4
OFF
JI-J2
e
TS2
-
-
GROMMET
x
J
e
3
d
m
WHT
a
FILTER
&-
+
CIRCUIT
t
BOARD
TU
1
YEL
/
BLK
H&
RED
a
J
MAIN
CIRCUIT
BOARD
R4
1
VOLUME
FIGURE
17.
70-VOLT CONVERSION: INTERNAL WIRING

Table of Contents

Related product manuals