EasyManua.ls Logo

Siemens 1LA2 - Page 19

Siemens 1LA2
24 pages
Print Icon
To Next Page IconTo Next Page
To Next Page IconTo Next Page
To Previous Page IconTo Previous Page
To Previous Page IconTo Previous Page
Loading...
19
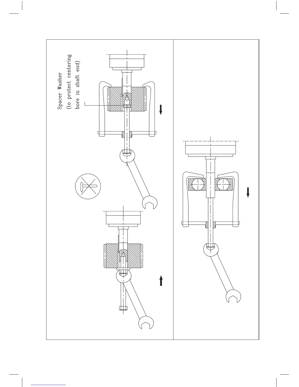
Fig. 2
Pressing on and pulling off drive elements
Changing bearings

Related product manuals