EasyManua.ls Logo

Siemens SIPROTEC 7SJ80

Siemens SIPROTEC 7SJ80
80 pages
To Next Page IconTo Next Page
To Next Page IconTo Next Page
To Previous Page IconTo Previous Page
To Previous Page IconTo Previous Page
Loading...
33SIPROTEC 7SJ80 / 7SK80 V4.6, Produktinformation
E50417-K1150-C342-A6, Ausgabestand 07.2010
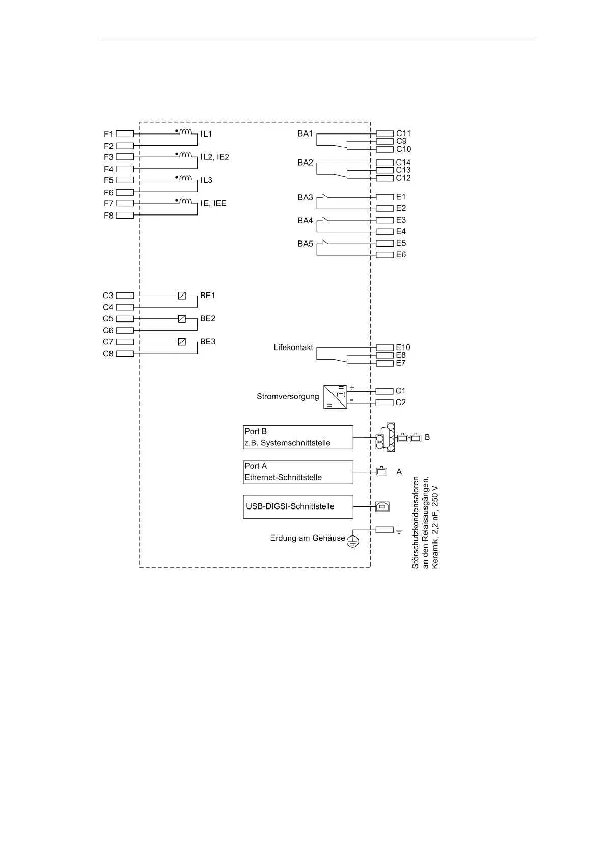
Bild 20 Übersichtsplan 7SK801*

Other manuals for Siemens SIPROTEC 7SJ80

Related product manuals