EasyManua.ls Logo

Siemens SIPROTEC 7SJ80

Siemens SIPROTEC 7SJ80
80 pages
To Next Page IconTo Next Page
To Next Page IconTo Next Page
To Previous Page IconTo Previous Page
To Previous Page IconTo Previous Page
Loading...
37SIPROTEC 7SJ80 / 7SK80 V4.6, Produktinformation
E50417-K1150-C342-A6, Ausgabestand 07.2010
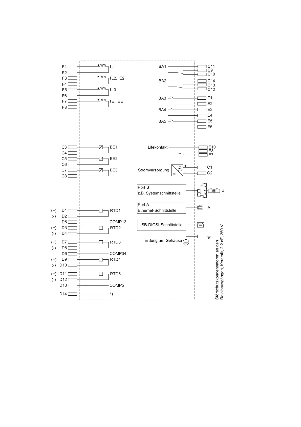
Bild 24 Übersichtsplan 7SK805*
*) Der Schirm des Anschlusskabels wird direkt an die Schirmhaube ange-
schlossen.

Other manuals for Siemens SIPROTEC 7SJ80

Related product manuals