EasyManua.ls Logo

Sigma EF-500 - Page 40

Sigma EF-500
Print Icon
To Next Page IconTo Next Page
To Next Page IconTo Next Page
To Previous Page IconTo Previous Page
To Previous Page IconTo Previous Page
Loading...
40
Si l'élargisseur d'angle est arrac accidentellement, la tête zoom automatique ne fonctionne plus.
Contactez alors votre revendeur pour faire réparer le flash.
RETRO ECLAIRAGE DE L'ECRAN LCD
Si vous appuyez sur le bouton LIGHT l'écran LCD est éclairé pendant environ 8 secondes. Ce rétro
éclairage peut être interrompu en appuyant à nouveau sur LIGHT .
FLASH AUTOMATIQUE TTL
Dans le mode TTL AUTO, le boîtier contrôle la quantité de lumière
nécessaire pour une exposition correcte du sujet.
1. Sélectionnez le mode d'exposition
P
sur le boîtier. (Dans le cas des
SA-300, SA-300N et SA-5, choisissez le mode tout automatique “
” ).
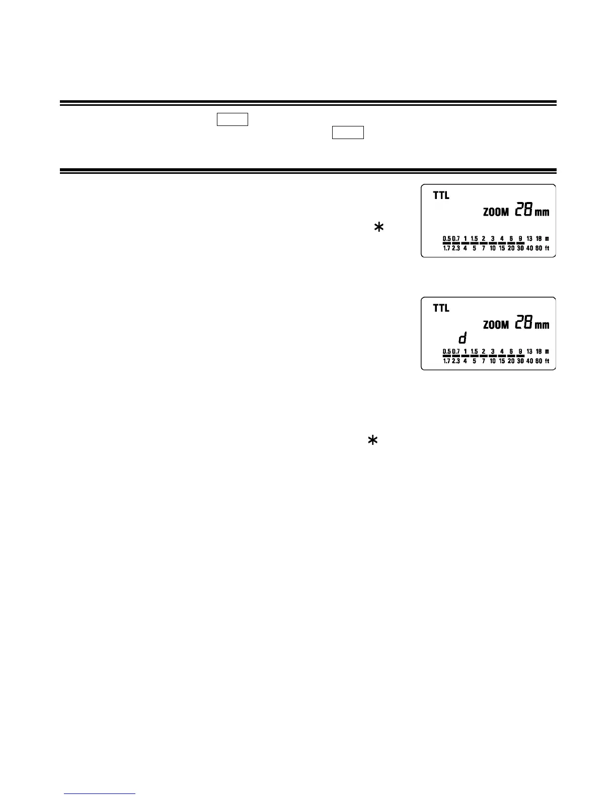
2. Mettez le flash sous tension. Le symbole TTL apparaît sur l'écran LCD
panel et le flash se met en charge. (Si le symbole TTL n'apparaît pas,
appuyez sur le bouton MODE à plusieurs reprises jusqu'à son affichage).
3. Faites la mise au point sur le sujet.
4.
Assurez-vous que le sujet se trouve à l'intérieur de la plage de distance affice sur l'écran LCD du flash.
5. Prenez la photo lorsque le moin de charge est allumé.
Le témoin de flash apparaît dans le viseur quand le flash est chargé, en plus
de la lampe moin située sur le flash
En cas d'utilisation avec un boîtier numérique, l'exposition TTL est
contrôe par le sysme S-TTL du boîtier. Si le flash est réglé en TTL, la
lettre "d" (pour "digital" ) s'affiche sur l'écran ACL.
Si l'appareil a reçu une quantité de lumière correcte, le symbole TTL apparaît 5 secondes sur l'écran LCD.
Si cet affichage ne se produit pas, c'est que la portée du flash est insuffisante pour la situation. Reprenez
alors la photo à une moindre distance.
Le faisceau d'assistance AF s'allume automatiquement si vous faites une mise au point dans l'obscurité.
Sa portée se situe entre 0,7 et 9 mètres (2.3-29.5 pieds).
Avec les boîtiers SA-300, SA-300N et SA-5 en mode tout auto ”, le flash fonctionne automatiquement
en mode TTL. Dans les autres modes d'exposition, le flash se mettra dans le dernier mode utilisé.
Le moin de flash s'affiche dans le viseur lorsque le flash est chargé. Si l'obturateur est déclencavant
la pleine charge, le flash ne s'activera pas, et l'appareil prendra la photo avec une vitesse lente.
Si la distance entre le flash et le sujet est trop faible (inférieure à 0.5m), la barre des distances clignote
sur l'écran LCD.
UTILISATION DU FLASH AVEC LES AUTRES MODES D'EXPOSITION
Mode de priorité à la vitesse
Choisissez le mode
S
sur le boîtier, et sélectionnez une vitesse comprise entre 30sec. et la vitesse de
synchronisation X. L'appareil déterminera l'ouverture pour une exposition correcte de l'arrière-plan en
fonction de la vitesse que vous aurez retenue. Si le sujet est trop lumineux ou trop sombre pour les
paramètres choisis, le témoin d'ouverture du viseur clignote en indiquant les limites (ouverture maximale ou
minimale possible). Dans un tel cas, l'appareil prendra la photo au flash à cette valeur limite. Le sujet
principal pourra être correctement exposé, mais l'arrière-plan sera alors ou sous-exposé, ou surexposé.
Mode de priorité à l'ouverture
Choisissez le mode
A
sur le boîtier, et sélectionnez une valeur d'ouverture. L'appareil déterminera la
vitesse pour une exposition correcte de l'arrière-plan en fonction du diaphragme que vous aurez retenu. Si
le sujet est trop lumineux ou trop sombre pour les paramètres choisis, le témoin d'ouverture du viseur
clignote en indiquant les limites (vitesse la plus rapide possible, ou la plus lente). Dans un tel cas, l'appareil
prendra la photo au flash à cette valeur limite. Le sujet principal pourra être correctement exposé, mais
l'arrière-plan sera alors ou sous-exposé, ou surexposé.
Mode manuel
M
Choisissez le mode
M
sur le boîtier, et lectionnez la vitesse et le diaphragme. La vitesse peut être
choisie entre la vitesse de synchronisation X et la pose B (bulb). Si vous suivez les indications du
posemètre de l'appareil, celui-ci fonctionnera en synchronisation lumière du jour ou synchronisation lente.

Table of Contents

Related product manuals