EasyManua.ls Logo

Sigma EF-500 - Sincronización con la Segunda Cortinilla; Reduccion de Ojos Rojos; Luz de Modelado

Sigma EF-500
Print Icon
To Next Page IconTo Next Page
To Next Page IconTo Next Page
To Previous Page IconTo Previous Page
To Previous Page IconTo Previous Page
Loading...
52
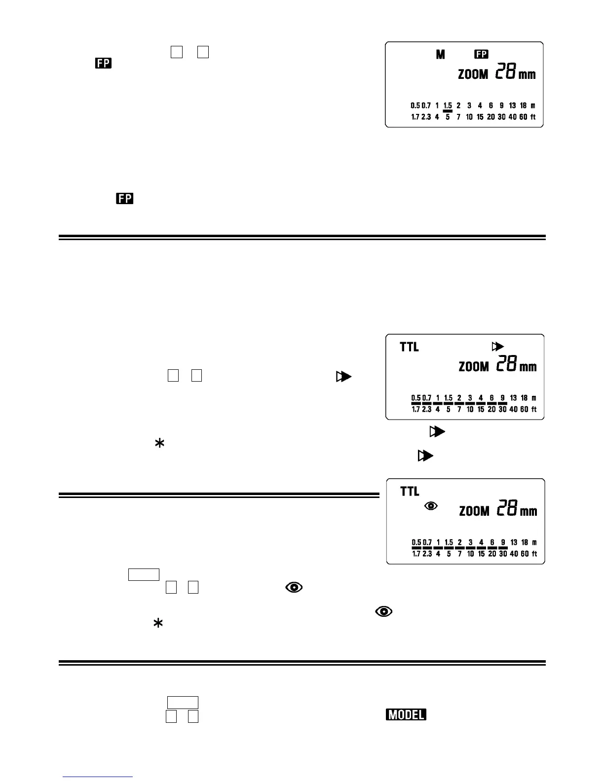
3. Presione los botones
+
o
varias veces para que aparezca el
icono en la pantalla LCD.
4. Seleccione una velocidad más rápida que la velocidad de
sincronización normal de la mara
5. Lea la distancia a que se encuentra el sujeto en el anillo de enfoque
del objetivo. Ajuste el anillo de diafragma a la distancia que indica la
pantalla LCD del flash y la distancia del sujeto será
aproximadamente igual.
6. Cuando se ilumine la Luz de Preparado en el flash, la unidad está a punto para disparar.
Con la sincronización a alta velocidad, el Número Guía dependiendo de la velocidad de obturación. El
rango del flash será más corto cuando la velocidad de obturación sea más pida. (Por favor mire
Cuadro 2 de la última página)
La marca desaparecerá cuando se cancele la función de sincronización a alta velocidad (flash FP)
SINCRONIZACIÓN CON LA SEGUNDA CORTINILLA
Cuando se fotografía un sujeto en movimiento con sincronización lenta, normalmente el efecto movimiento
se refleja por delante del sujeto. La luz del flash ordinario, se dispara en el momento que la primera
cortinilla está totalmente abierta, de modo que el sujeto se exponddesde el momento que se dispare el
flash hasta que se cierre el obturador (Sincronización con la primera cortinilla). Cuando se utiliza la
sincronización con la segunda cortinilla, el flash se dispara justo antes que empiece a cerrarse la segunda
cortinilla, y la exposición captala luz ambiente desde el momento que se obre el obturador hasta que se
dispara el flash. El efecto movimiento del sujeto se expondrá detrás del sujeto. Será un efecto más natural.
1. Ajuste la mara al modo deseado.
2. Seleccione el modo del flash (TTL, Manual. SD9 y SD10 solo puede
usarse en modo M )
3. Presione los botones
+
o
para que aparezca la marca en la
pantalla LCD.
4. Enfoque y realice la foto después de confirmar que el flash está
preparado.
La sincronización con la primera cortinilla estará activa si no aparece la marca .
En el modo Auto
” las cámaras SA-300, SA- 300N, SA-5 esta función no se puede utilizar.
Para cancelar la sincronización con la segunda cortinilla, desactive la marca de la pantalla LCD.
REDUCCION DE OJOS ROJOS
Cuando realiza una fotografía con flash, a veces los ojos de las
personas reflejan la luz del flash y en la foto aparecen con los ojos
rojos. Si utiliza la función “reducción de ojos rojos”, el flash parpadeará
durante aproximadamente 1 segundo antes del disparo, y reducirá el
efecto ojos rojos.
1. Presionando MODE seleccione el modo del flash. (TTL, M)
2. Presione los botones
+
o
para que la marca aparezca en la pantalla LCD.
3. Ajuste el foco, y realice la foto después de confirmar que el flash está preparado.
Para cancelar la función “Reducción ojos rojos” desactive la marca .
En el modo Auto
” las maras SA-300, SA- 300N, SA-5 esta función no se puede utilizar.
LUZ DE MODELADO
Si utiliza el flash de modelado, podrá comprobar el efecto de luces y sombras antes de disparar la
fotografía.
1. Presionando el botón MODE seleccione el modo deseado.
2. Presione los botones
+
o
varias veces para que aparezca el icono en la pantalla LCD.
3. Compruebe que el flash está cargado, y presione el botón test para disparar.

Table of Contents

Related product manuals