EasyManua.ls Logo

Sigma EF-500 - Flash Manuale

Sigma EF-500
Print Icon
To Next Page IconTo Next Page
To Next Page IconTo Next Page
To Previous Page IconTo Previous Page
To Previous Page IconTo Previous Page
Loading...
61
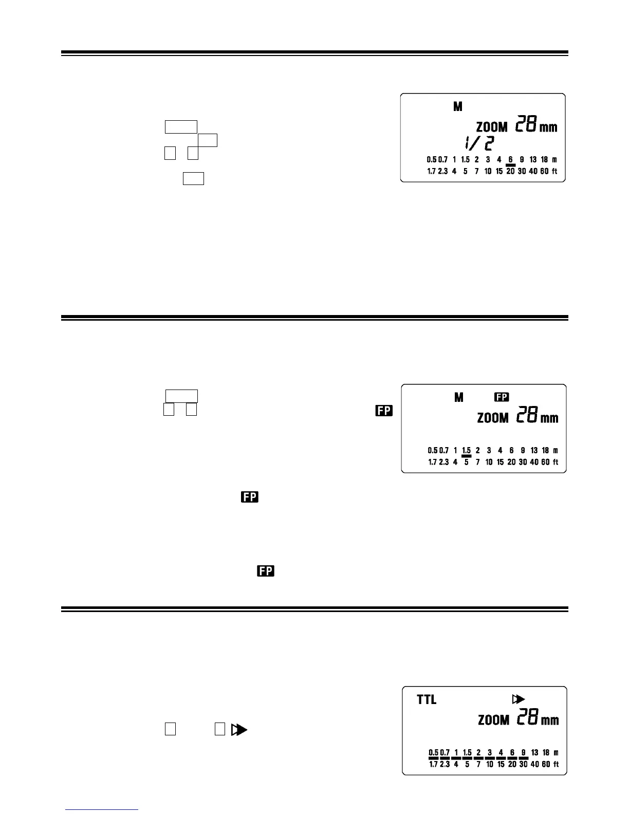
FLASH MANUALE
La regolazione manuale del flash è conveniente quando le condizioni sono tali che il sistema TTL non
funzionerebbe bene. Nel modo di funzionamento manuale è possibile regolare vari livelli di potenza, da
1/1( piena potenza) a 1/128 di potenza, con incrementi di uno stop.
1. Regolate la macchina in modalità M o A
2. Premete il pulsante MODE sul flash fino a selezionare M
3.
Quando premete il pulsante SEL, il valore del numero guida lampeggia
4. Premete il pulsante
+
o
per regolare la potenza del flash
5. Il display d'uscita del flash manuale cesserà di lampeggiare
premendo nuovamente SEL
6. Attivare la messa a fuoco premendo il pulsante di scatto. Leggere la distanza fotocamera/soggetto
sull'anello delle distanze dell'obiettivo. Poi regolare il diaframma o la potenza del flash su di un valore che
faccia coincidere, la distanza indicata sul display LCD del flash con quella letta sulla ghiera dell'obiettivo.
7. Quando la spia Ready si illumina, il flash è pronto per funzionare
Potete calcolare la corretta esposizione seguendo la seguente formula:
Numero guida NG/distanza del flash dal soggetto=F-stop
Questo flash calcolerà automaticamente e indicherà la distanza appropriata dal soggetto seguendo la
formula di cui sopra. (Consultare la tabella 1 dell'ultima pagina)
FP FLASH FLASH AD ALTA VELOCITÀ (ECCETTO SA-300)
Quando si fotografa con un normale flash, non si può utilizzare una velocità maggiore di quella di
sincronizzazione perc il flash deve scattare quando la tendina è completamente aperta.
La
sincronizzazione ad alta velocità consente invece al flash di scattare mentre la tendina sta ancora aprendosi.
Di contro è possibile usare una velocità di scatto della macchina superiore a quella di sincronizzazione.
1. Impostare sulla fotocamera il modo di funzionamento
M
2. Premere il pulsante MODE del flash per selezionare l'indicazione M
Premere il pulsante
+
o
e fare apparire la relativa indicazione
sul display LCD
3. Impostare la velocità dell'otturatore.
4. Leggere la distanza fotocamera/soggetto sull'anello delle distanze
dell'obiettivo. Poi impostare un diaframma affinché la distanza
indicata sul display LCD del flash sia il più possibile simile a quella
letta sulla ghiera dell'obiettivo.
5. Quando sul flash si accende la spia
di pronto lampo potete scattare la foto.
Con la sincronizzazione high-speed, il Numero Guida cambia in relazione alla velocidi ripresa. Il campo
d’azione del flash sa inferiore quando la velocità è alta. (Consultare la tabella 2 dell'ultima pagina)
Quando si usa il lampo ad alta velocità non usate il pannello diffusore incorporato
Non si può usare la sincronizzazione sulla seconda tendina, quando si usa il flash ad alta velocità.
Per cancellare il modo di funzionamento FP ( flash ad alta velocità) seguite la procedura Flash ad alta
velocità per far comparire l'indicazione
relativa sul display LCD.
SINCRONIZZAZIONE DELLA SECONDA TENDINA
Quando si fotografa un soggetto in movimento con sincronizzazione lenta, davanti a lui comparirà la sua scia. Infatti
la luce del flash scatte quando la prima tendina è completamente aperta, quindi il soggetto rimarrà esposto da
quando partirà il flash a quando si chiudela tendina (sincronizzazione della prima tendina). Quando si utilizza la
sincronizzazione della seconda tendina, il flash scatteappena prima della chiusura della seconda tendina, così
che la scia del soggetto esposto alla luce ambiente sarà dietro il soggetto stesso, con un effetto più naturale.
1. Scegliete la modalità di ripresa della macchina
2. Impostate la modalità di funzionamento del flash ( TTL, M. con la
SD9 e la SD10 solo la modalità manuale M)
3. Premere il pulsante
+
oppure
, L'indicazione verrà visualizzata
sul display LCD.
4. Mettere a fuoco e scattare quando si accende la spia di pronto lampo

Table of Contents

Related product manuals