EasyManua.ls Logo

Sigma EF-500 - Caracteristiques Techniques

Sigma EF-500
Print Icon
To Next Page IconTo Next Page
To Next Page IconTo Next Page
To Previous Page IconTo Previous Page
To Previous Page IconTo Previous Page
Loading...
46
3. Mettez le flash sous tension et appuyez à mi-course sur le
déclencheur.
Les valeurs d'ouverture et la sensibilité du film ont ainsi été
transmises automatiquement au flash.
4. Retirez le flash de l'appareil.
5. Appuyez sur le bouton MODE et sélectionnez le symbole
. (Mode de flash esclave)
6. Appuyez sur le bouton SEL pour faire clignoter l'indicateur de canal.
7. Appuyez sur la touche
+
ou
pour sélectionner le canal. (C1 ou C2)
8. Appuyez sur le bouton SEL pour faire clignoter l'indicateur de puissance ( )
9. Appuyez sur la touche
+
ou
pour choisir la puissance souhaitée.
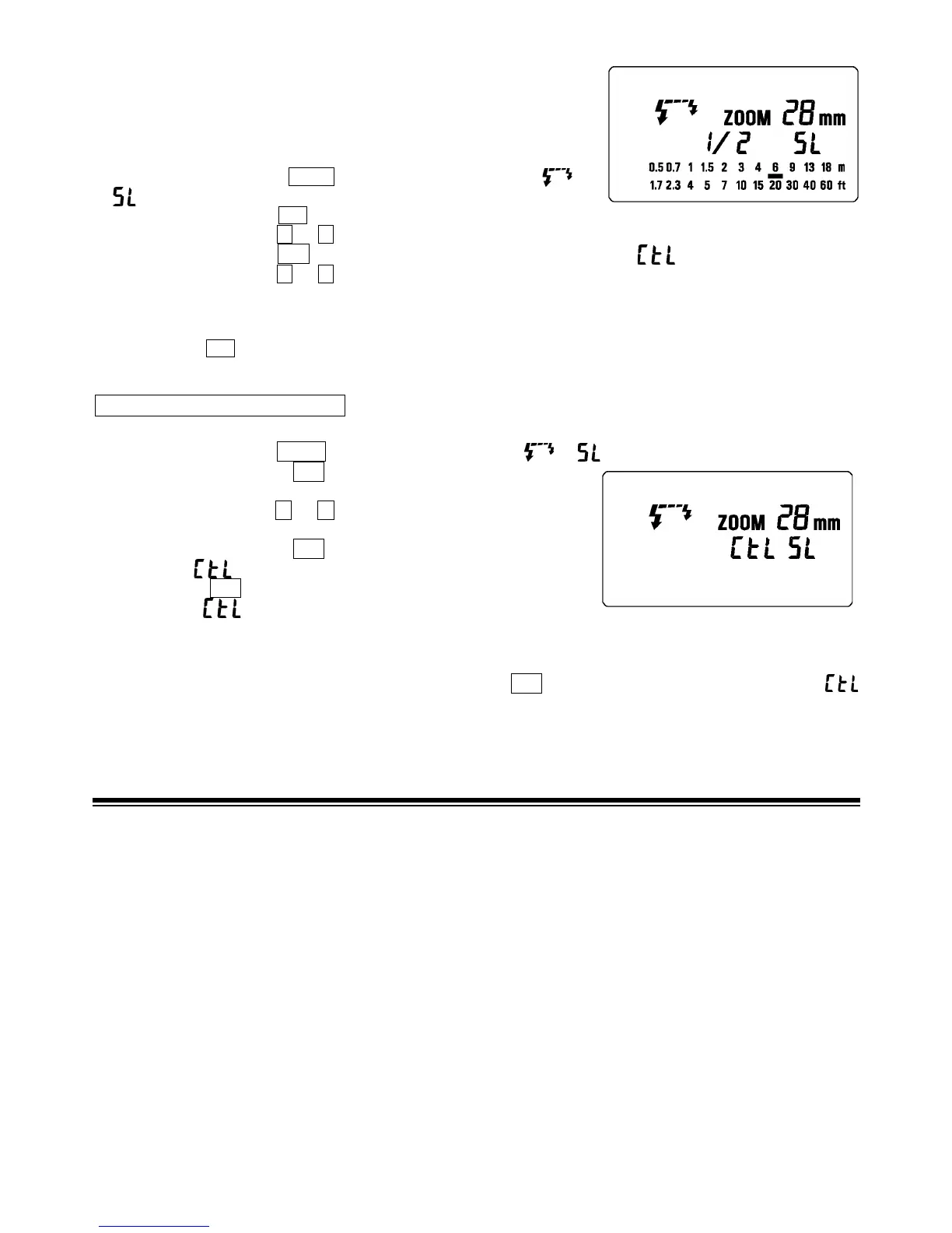
La puissance doit être déterminée en faisant coïncider au mieux l'indicateur de distance de l'écran LCD
avec la distance réelle existant entre le flash esclave et le sujet. Si la distance elle est en dehors de la
plage indiquée sur l'écran LCD, il faut changer la valeur d'ouverture.
10. Appuyez sur SEL à plusieurs reprises pour afficher les paramètres sélectionnés.
11. Placez le flash à l'emplacement désiré. Prenez garde qu'il ne soit pas dans le champ de l'image.
Préparation du flash de contrôle
12. Attachez le flash de contrôle sur l'appareil.
13. Appuyez sur le bouton MODE et lectionnez le symbole (Mode de flash esclave).
14. Appuyez sur le bouton SEL pour faire clignoter l'indicateur de
canal.
15. Appuyez sur la touche
+
ou
et sélectionnez le même canal que
celui retenu pour les flashes d'éclairage.
16. Appuyez sur le bouton SEL pour faire clignoter l'indicateur de
puissance ( ).
17. Appuyez sur SEL pour confirmer et faire cesser le clignotement.
(le symbole s'efface et il est remplacé par le numéro du
canal sélectionné).
18. Après vous être assuré que tous les flashes sont chargés, prenez la photo.
Lorsque les flashes d'éclairage sont chargés, leur lumière d'assistance AF clignote.
Vous ne pouvez pas régler l'ouverture avec le bouton SEL lorsque vous avez lectionné l'icône
lors du réglage de la puissance, le flash étant en mode de flash esclave de contrôle.
Le flash esclave de contrôle ne sert qu'au contrôle du déclenchement des flashes d'éclairage.
CARACTERISTIQUES TECHNIQUES
TYPE : Flash électronique à tête zoom automatique et orientable à contrôle TTL
NOMBRE GUIDE : 50 (100 ISO/m, avec réflecteur en position 105mm)
ALIMENTATION : Quatre piles alcalines de type AA ou : Quatre accumulateurs Ni-Cd de type AA ou
: Quatre accumulateurs Ni-Mh de type AA
TEMPS DE RECYCLAGE : environ 6,0 sec. (avec piles alcalines) : environ 4,0 sec. (accus Ni-Cd et Ni-Mh)
NOMBRE D'ECLAIRS
: environ 220 éclairs (piles alcalines) : environ about 100 éclairs (accus Ni-Cd et Ni-Mh)
DUREE DE L'ECLAIR : environ 1 / 700 sec. (à pleine puissance)
ANGLE D'ECLAIRAGE
: 28~105mm avec motorisation automatique 17mm avec l'élargisseur d'angle intégré.
MISE EN VEILLE AUTOMATIQUE : oui
TEMPERATURE DE COULEUR : pour films couleurs de type lumière du jour
POIDS : 335 g
DIMENSIONS : 77mm(l) x 138mm(H) x 116mm(L)

Table of Contents

Related product manuals