䝳䜨䝍䝕䝑䝯䛱䛪䛊䛬
17mmࡱ࡚ࡡᗀみࣝࣤࢫࢅ⏕ࡌࡾ࡛ࡀ࡞ࡢࠉහⶮࡡ࣠
ࢺࣂࢾࣜࢅᘤࡀฝࡊ࡙ࠉ࣠ࢺࣂࢾࣜⓆක㒂๑㟻ࢅ
⿍࠹ࡻ࠹࡞ࢬࢴࢹࡊ࡙ࡂ ࡓ ࡈ ࠷ ࠊ ↯ ᑏ み ࡢ ⮤ ິ Ⓩ ࡞
17mm ⏤みᑊᚺ࡞ࢬࢴࢹࡈࡿࡱࡌࠊ
ۋ ᨶ࡞ࡻࡽ࣠ࢺࣂࢾࣜአࡿࡾ࡛ࠉZOOM࣍ࢰ
ࣤᶭ⬗ࡊࡂࡽࡱࡌࠊࡇ㉆ථᗉࠉࡵࡊࡂࡢᘚ♣ႜ
ᴏᡜ࡞ಞ⌦ࢅ࠽⏞ࡊࡗࡄࡂࡓࡈ࠷ࠊ
ᾦᬏ䝕䝑䝯䛴↯
LIGHT࣍ࢰࣤࢅᢪࡌ࡛ࠉ⣑8⛂㛣ᾦᬏࣂࢾࣜ↯ࡈࡿࡱࡌࠊ↯୯࡞්ᗐLIGHT࣍ࢰࣤࢅᢪࡌ࡛ࠉᾐ⅁ࡊ
ࡱࡌࠊ
TTL᧔ᙫ
TTL࣓࣭ࢺ࡚ࡢࠉ⿍మ㐲ḿ㟚ฝ࡞ࡾࡻ࠹࡞ࠉࣆࣚࢴࢨࣖࡡⓆක㔖ࢅ࣒࢜ࣚโᚒࡊࡱࡌࠊ
ձ ࣒࢜ࣚࢅ
P
࣓࣭ࢺ࡞ࢬࢴࢹࡊࡱࡌࠊ
㸝SA-300ࠉSA-300NࠉSA-5࡚ࡢ 㸝ධ⮤ິ࣓࣭ࢺ㸞࡞ࢬࢴࢹࡊࡱࡌࠊ㸞
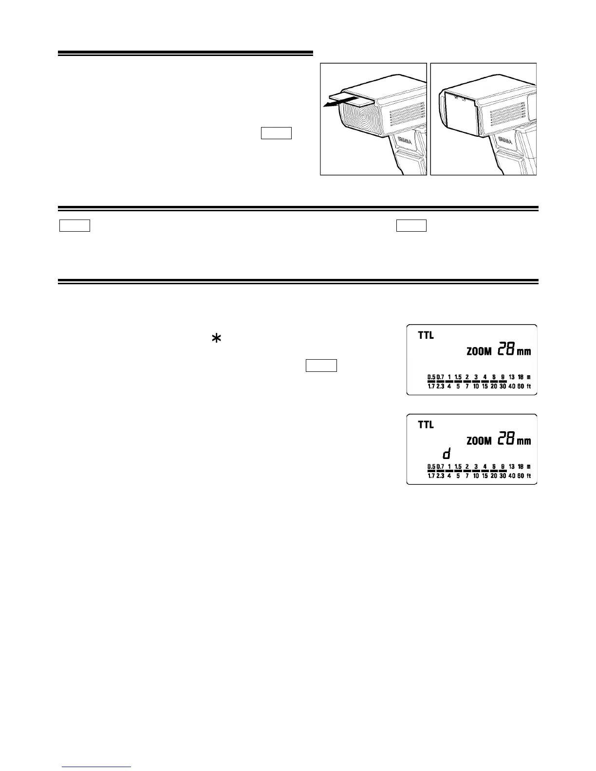
ղ ࣆࣚࢴࢨࣖࡡ㞹″ࢪࢴࢲࢅON࡞ࡌࡾ࡛ࠉTTLࡡ⾪♟ᾦᬏࣂࢾࣜ࡞ฝ
࡙ඖ㞹ጙࡱࡽࡱࡌࠊ㸝TTLࡡ⾪♟ฝ࠷ሔྙࡢࠉMODE࣍ࢰࣤࢅᩐᅂ
ᢪࡊ࡙TTLࢅ⾪♟ࡈࡎ࡙ࡂࡓࡈ࠷ࠊ㸞
ճ ⿍మ࡞ࣅࣤࢹࢅྙࢂࡎࡱࡌࠊ
մ ⿍మ᧔ᙫྊ⬗⠂ᅑ࡞࠵ࡾ࠾ࠉᾦᬏࣂࢾࣜࡡ㊝㞫⾪♟࡚☔ヾࡊࡱࡌࠊ
յ ඖ㞹Ᏸࡊࡒࡡࢅ☔ヾࡊࠉࢨࣔࢴࢰ࣭࣍ࢰࣤࢅᢪࡊ࡙᧔ᙫࡊࡱࡌࠊ
ۋ ࢸࢩࢰ࣒࡛ࣜ࢜ࣚࡡ⤄ࡲྙࢂࡎ࡚ࡇ⏕ࡡሔྙࠉTTL᧔ᙫࡡ᪁ᘟࠉࢸ
ࢩࢰ࣒ࣜ࢜ࣚ࡞ᑊᚺࡊࡒS-TTL᪁ᘟ࡚โᚒࡈࡿࡱࡌࠊࣆࣚࢴࢨࣖTTL
࡞スᏽࡈࡿ࡙࠷ࡾ࡛ᾦᬏࣂࢾࣜ࡞㹙ࡡᩝᏊ⾪♟ࡈࡿࡱࡌࠊ
ۋ ࣆࣚࢴࢨࣖ᧔ᙫḿᖏ࡞⾔ࢂࡿࡾ࡛ࠉࣆࣚࢴࢨࣖࡡᾦᬏࣂࢾࣜࡡTTLࡡ⾪♟5⛂㛣Ⅴ⁓ࡊࡱࡌࠊⅤ⁓ࡊ
࠷࡛ࡀࡢࠉක㔖㊂ࡊ࡙࠷ࡱࡌࡡ࡚⿍మ࡞㎾ࡘࡀ᧔ᙫࡊ├ࡊ࡙ࡂࡓࡈ࠷ࠊ
ۋ ᬧ࠷ሔᡜ࡚ࡢ࢛࣭ࢹࣆ࢚࣭࢜ࢪࡡషິࢅຐࡄࡾࡒࡴ࡞ࠉAFຐක↯ᑏࡈࡿࡱࡌ㸝᭯ຝ⠂ᅑ࣬⣑0.7m㹳
9m㸞ࠊࢨࣔࢴࢰ࣭࣍ࢰࣤࢅ༖ᢪࡊࡊ࡙ࣆࣤࢱ࣭ࡡࣆ࢚࣭࢜ࢪ࣏࣭ࢠⅤ⁓ࡊ࡙࠷ࡾ࡛ࡀࡢࠉAFຐ
ක࡛࠷࡙࠷ࡱࡎࢆࡡ࡚ࠉࢨࣔࢴࢰ࣭࣍ࢰࣤ࠾ࡼᣞࢅࡢࡊࠉ㎾ࡘ࠷࡙᧔ᙫࡊ࡙ࡂࡓࡈ࠷ࠊ
ۋ SA-300ࠉSA-300NࠉSA-5࡚ࡢ㸟㸝ධ⮤ິ࣓࣭ࢺ㸞࡞ࢬࢴࢹࡌࡾ࡛ࣆࣚࢴࢨࣖࡢ⮤ິⓏ࡞TTL࣓࣭ࢺ࡞ว
ࡽᥦࢂࡽࡱࡌࠉࡡ࣓࣭ࢺࠉཀྵࡦࡡ࣒࡚࢜ࣚࡢ๑ᅂ⏕ࡊࡒ࣓࣭ࢺ࡞ࢬࢴࢹࡈࡿࡱࡌࡡ࡚ࡇἸណࡂ
ࡓࡈ࠷ࠊ
ۋ ඖ
㞹Ᏸࡌࡾ࡛ࠉࣆࣤࢱ࣭හ࡞ࣆࣚࢴࢨ࣏࣭ࣖࢠⅤ⅁ࡊࡱࡌࠊඖ㞹Ᏸࡊ࡙࠷࠷࡛ࠉࢨࣔࢴࢰ࣭ࡢࣆ
ࣚࢴࢨࣖ↋ࡊࡡ≟ឺ࡚㐲ḿ㟚ฝ࡛ࡾࡻ࠹࡞ࠉࢪ࣭ࣞࢨࣔࢴࢰ࣭࡛ࡽࡱࡌࡡ࡚ࡇἸណࡂࡓࡈ࠷ࠊ
ۋ ㎾㊝㞫ഁࡡㄢක㏻ິ㊝㞫⾪♟ྊ⬗⠂ᅑࢅ㉰࠻ࡾ࡛ࠉ㊝㞫⾪♟ࣁ࣭Ⅴ⁓ࡊࡱࡌࠊ
᧔ᙫ䝦䞀䝍䛭䛴䝙䝭䝇䜻䝩᧔ᙫ
ࢨࣔࢴࢰ࣭㏷ᗐࢅ௴ណ࡞ࢬࢴࢹࡊࡒ࠷࡛ࡀ
࣒࢜ࣚࢅ
S
࣓࣭ࢺ࡞ࢬࢴࢹࡌࡾ࡛ࠉ࣒࢜ࣚࡡྜྷㄢ㏷ᗐ㹳30⛂ࡡ㛣࡚ࢨࣔࢴࢰ࣭㏷ᗐࢅ௴ណ࡞㐽ᢝ࡚ࡀࡱࡌࠊ
ࢨࣔࢴࢰ࣭㏷ᗐࢅ௴ណ࡞ࢬࢴࢹࡌࡾ࡛ࠉࣁࢴࢠ᭩㐲࡛ࡾ⤘ࡽࢅ㐽ࡦࡱࡌࠊࡾ࠷ሔ㟻ࡷᬧ࠷ሔ㟻࡚⤘
ࡽ㏻ິ࡚ࡀࡾ⠂ᅑࢅ㉰࠻࡙ࡊࡱ࠹࡛ࠉ⤘ࡽࡡ⾪♟Ⅴ⁓ࡊ࡙㆑࿈ࡊࡱࡌࠊࡐࡡࡱࡱ᧔ᙫࡌࡾ࡛ࠉ⫴ᬊ