EasyManua.ls Logo

Sigma EF-500 - Page 64

Sigma EF-500
Print Icon
To Next Page IconTo Next Page
To Next Page IconTo Next Page
To Previous Page IconTo Previous Page
To Previous Page IconTo Previous Page
Loading...
64
Uso del flash incorporato dellaSA-7 e SA-9
1. Premere il pulsante MODE e impostare il segnale
2. Premere il pulsante SEL alcune volte fino a far lampeggiare la spia
del canale di trasmissione
3. Premere il pulsante + o per impostare il canale
4. Premere il pulsante SEL per far cessare il lampeggiamento della
spia
5. Mettere il flash EF Super nella posizione desiderata
Non mettere il flash nel campo inquadrato dall'obiettivo.
Posizionare il flash a entro una distanza compresa fra 0,5m e 5m dal soggetto, e regolare la fotocamera
per una distanza compresa tra 1m e 5m
Assicuratevi che la fotocamera sia regolata sul modo di funzionamento "Wireless Flash Mode", e
impostate il medesimo canale di trasmissione sia sulla fotocamera che sul flash. Altrimenti la macchina
fotografica non potrà "colloquiare" con il flash EF-500 DG Super SA-N, e il lampo non scatterà.
6. Con fotocamere dotate di flash incorporato, aspettare che entrambi i flash siano carichi e poi scattare la
foto
La luce ausiliaria AF del flash EF-500 DG Super SA-N si mette a lampeggiare quando il flash è pronto al
lampo
Lo EF-500 DG Super SA-N lampeggia quando lampeggia il flash incorporato alla fotocamera. Il flash
incorporato serve solamente a far lampeggiare il flash EF-500 DG Super SA-N. La luce che illumina il
soggetto solamente quella dello EF-500 DG Super SA-N. La quantità di luce emessa dal flash è
dosata dalla fotocamera, mediante il dispositivo di lettura TTL
Uso con le fotocamere non dotate di flash incorporato (SD10)
Per la modalità Flash Senza Fili ( Wireless), sono necessari due esemplari di EF-500 DG SUPER SA-. Nelle
istruzioni che seguono viene definito Master”, flash principale, quello inserito nella slitta della fotocamera;
“Slave”, flash secondario, quello che lavora staccato dalla fotocamera.
Regolazione del " Master "
1. Collegare il flash alla fotocamera.
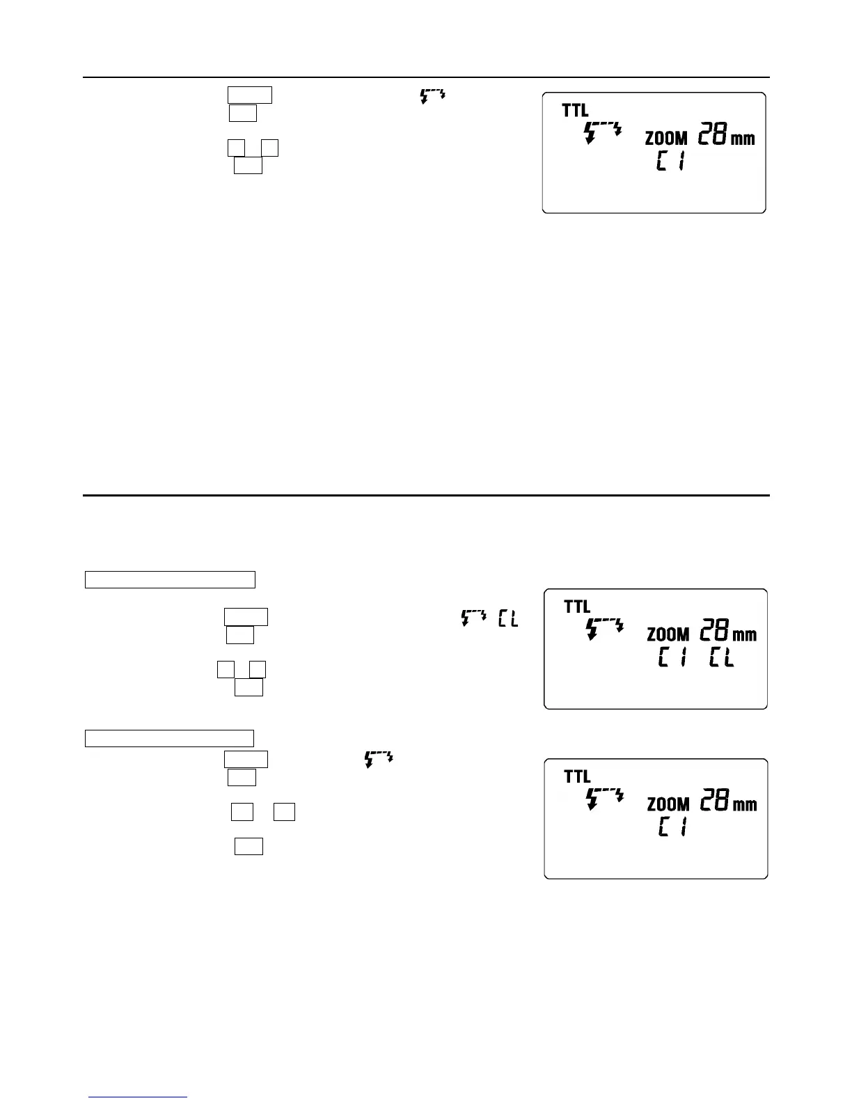
2. Premere il pulsante MODE per selezionare le indicazioni /
3. Premere il pulsante SEL per fare in modo che lampeggi nel display
l'indicatore del canale
4.
Premere il pulsante + o per impostare il canale di trasmissione
5. Premere il pulsante SEL alcune volte, fino a che il segnale del
canale non smette di lampeggiare
Regolazione dello Slave ”
6. Premere il pulsante MODE per impostare .
7. Premere il pulsante SEL per far lampeggiare nel display il segnale
corrispondente al canale
8. Premere il pulsante
+ o
per impostare lo stesso numero di
canale impostato sul flash " Master".
9. Premere il pulsante SEL alcune volte, fino a che il segnale del
canale non smette di lampeggiare
10. Mettere lo Slave nella posizione desiderata
11. Assicurarsi che entrambi i flash siano carichi.
La spia di pronto lampo lampeggee la luce dell'illuminatore il flash secondario (Slave) AF lampeggerà
anch'essa per indicare il pronto lampo.
12. Mettere a fuoco e scattare la foto
La luce del flash principale ( Master) serve soltanto a pilotare il flash secondario (Slave) e non influenza
l’esposizione della fotografia.
Quando sistemate il flash EF-500 DG Super SA-N separato dalla fotocamera, usate la mini base, che
possiede un foro filettato per il treppiede

Table of Contents

Related product manuals