EasyManua.ls Logo

Sigma EF-500 - Page 79

Sigma EF-500
Print Icon
To Next Page IconTo Next Page
To Next Page IconTo Next Page
To Previous Page IconTo Previous Page
To Previous Page IconTo Previous Page
Loading...
79
Verlichting van het LCD display
Wanneer u de LIGHT toets indrukt, zal het LCD display voor ca. 8 sec. worden verlicht. Het LCD display zal
langer dan 8 sec. worden verlicht indien u de LIGHT toets nogmaals indrukt.
TTL (DDL) Auto Mode
De TTL Auto mode voorziet de opname van de correcte belichting en controleert de hoeveelheid flitslicht.
1. Zet de camera op de
P
mode. (Als u de SA-300, SA300N of de SA-5
gebruikt stelt u de
” vol automatische belichting in)
2. Schuif de hoofdschakelaar van de flitser op ON, de TTL (DDL) markering
zal op het LCD display zichtbaar worden en de flitser wordt opgeladen.
(indien het TTL markering niet zichtbaar is drukt u herhaaldelijk op de
MODE toets tot de TTL markering zichtbaar is)
3. Stel het beeld scherp.
4. Stel vast dat het te fotograferen object zich in het effectieve bereik bevindt hetgeen in de LCD display
staat weergegeven.
5. Als de indicator (zowel in de zoeker van de camera als op het LCD display van de flitser zichtbaar)
aangeeft dat de flitser klaar is, kunt u de ontspanknop indrukken.
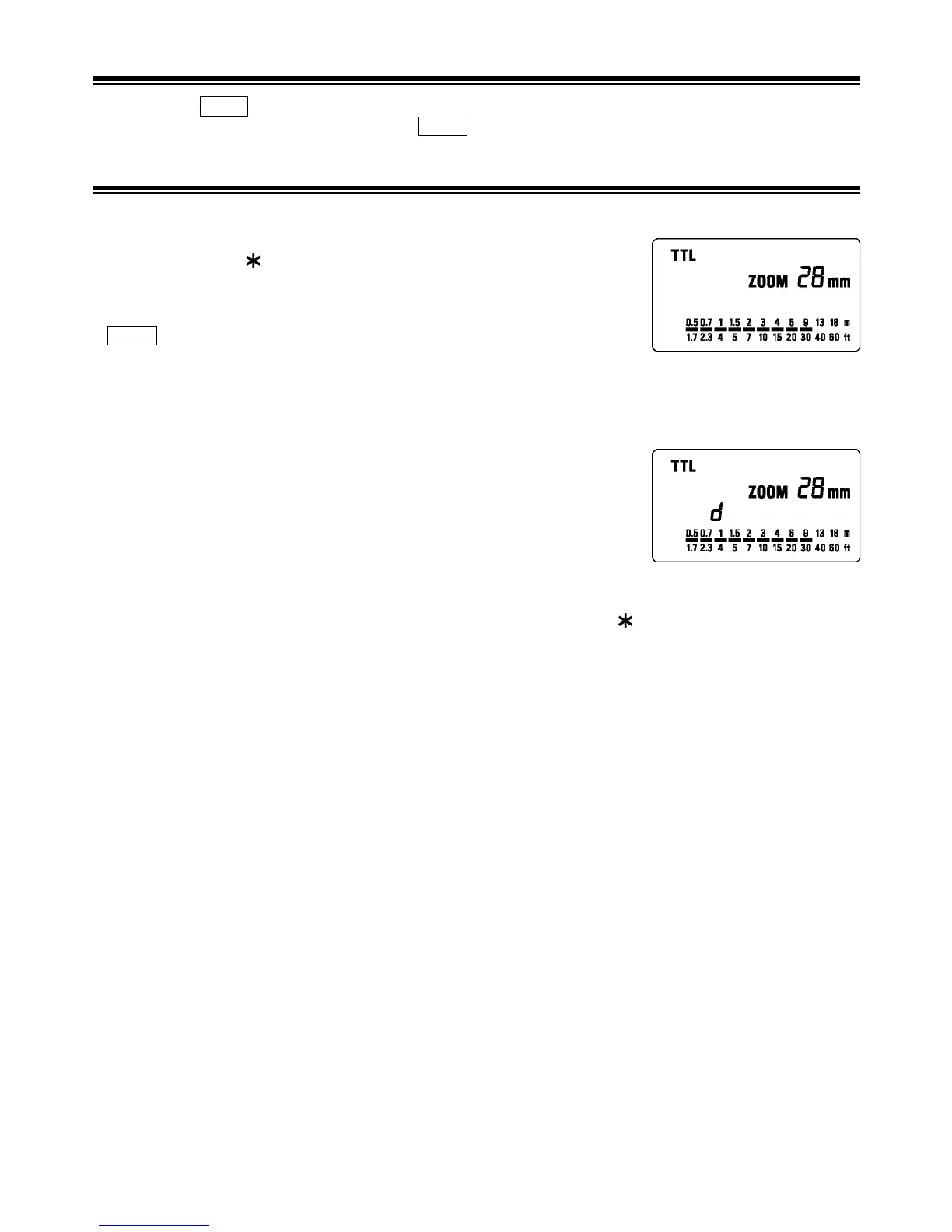
De TTL meting wordt gecontroleerd door het S-TTL system van de digitale
camera. Indien de flitser in de TTL modus wordt gezet zal de letter d
(digitaal) in het LCD display zichtbaar zijn.
Als de belichting juist is zal de ETTL (TTL) markering gedurende 5 sec. op
het LCD display zichtbaar zijn. Als deze markering niet verschijnt is er te
weinig flitslicht beschikbaar en dient u de opname opnieuw te maken op
een kortere afstand van het te fotograferen onderwerp.
Het AF hulplicht zal automatisch gaan branden wanneer u scherpstelt op een object in een donkere
omgeving. Het effectieve bereik is tussen de 0,7 tot 9 meter.
Indien de SA-300, SA-300N en de SA-5 camera staat ingesteld op de “
” volautomatische belichting zal
de flitser automatisch naar de TTL (DDL) stand omschakelen. Als op de camera voor een andere
belichtingsmethode is gekozen zal de flitser steeds de laatst gekozen methode onthouden.
Als de flitser geheel opgeladen is, verschijnt het flitsklaarlampje in de zoeker.
Indien de camera wordt ontspannen voor dat deze markering verschijnt zal de camera een lange
sluitertijd kiezen en de flitser niet afgaan.
Als de flitsafstand korter is dan 0,5 meter zal de afstandsschaal op het LCD display knipperen.
Het gebruik van de flitser bij andere camera instellingen
Sluitertijd voorkeuze
Door de S mode op uw camera te gebruiken kunt u sluitertijden van 30 sec. tot 1/X synchronisatie gebruiken.
Indien u de gewenste sluitertijd heeft ingesteld zal de camera de juiste diafragmawaarde voor de
achtergrond kiezen. Indien het onderwerp te donker of te licht is zal de diafragma-indicatie knipperen en zal
de begrensde diafragmawaarden tonen (maximale of minimale waarde). In dit geval zal de camera de
begrensde waarde kiezen en zal het hoofdonderwerp correct worden belicht maar bestaat de kans dat de
achtergrond wordt onder- of overbelicht.
Diafragma voorkeuze
Door de A mode op uw camera te gebruiken zal de camera de juiste sluitertijd voor de achtergrond kiezen.
Indien het onderwerp te licht of te donker is zal de sluitertijden indicatie gaan knipperen en de en zal de
begrensde sluitertijden tonen (de langzaamste- en snelst mogelijke sluitertijd). De snelste sluitertijd zal altijd
tot de max. flitssynchronisatietijd van de camera worden beperkt. In dit geval zal de camera de uiterste
waarde kiezen en zal het hoofdonderwerp correct worden belicht maar bestaat de kans dat de achtergrond
wordt onder- of overbelicht.
Handmatige instelling (M mode)
U kunt zelf de gewenste sluitertijd en diafragmawaarde instellen. Sluitertijden van de max. synchronisatietijd
tot “bulb” zijn mogelijk. Indien u de belichting instelt overeenkomstig de indicatie van de belichtingsmeter zal
de camera net zo functioneren als bij “invulflits bij daglicht” of “synchronisatie bij lange sluitertijden”.

Table of Contents

Related product manuals