EasyManua.ls Logo

Silvercrest KH 6779 - Page 15

Silvercrest KH 6779
98 pages
Go to English
To Next Page IconTo Next Page
To Next Page IconTo Next Page
To Previous Page IconTo Previous Page
To Previous Page IconTo Previous Page
Loading...
Pulse la tecla de control para seleccionar el campo de introducción
Kapitel marcado con – – –. Introduzca el capítulo deseado con las te-
clas numéricas de
0 a 9.
Pulse la tecla de control para seleccionar el campo – – : – – : – –
campo de introducción marcado para seleccionar Zeit (en los SVCD:
Disk-Zeit).Introduzca la posición temporal deseada en horas, minutos y
segundos con las teclas numéricas de
0 a 9.
Ejemplo:
Para iniciar la reproducción 1 hora, 5 minutos y 30 segundos después
del comienzo de una película, pulse sucesivamente las teclas numéricas…
0, 1 para 1 hora;
0, 5 para 5 minutos;
3, 0 para 30 Segundos
Pulse a continuación la tecla
OK para iniciar la reproducción desde el
punto seleccionado.
Si desea borrar una posición de los campos de entrada seleccione la posición
que desee eliminar con las teclas de control y pulse la tecla
CLR del
mando a distancia.
La imagen volverá a „– – –“.
Para ocultar el menú Suchen, vuelva a pulsar la tecla
SEARCH del mando a
distancia.
Búsqueda rápida hacia adelante/hacia atrás
Con la búsqueda rápida, durante la reproducción del DVD/VCD/S-VCD
puede seleccionar determinados pasajes.
Para la búsqueda rápida hacia adelante/hacia atrás, pulse varias veces la
techa
F.FWD o. F.RWD, para ajustar la velocidad de búsqueda:
Indicación:
Durante la búsqueda rápida no se reproduce el sonido.
Para continuar la reproducción de la película en el lugar seleccionado
a velocidad normal, pulse durante la búsqueda rápida la tecla
PLAY.
En la pantalla aparecerá de nuevo Wiedergabe.
- 13 -
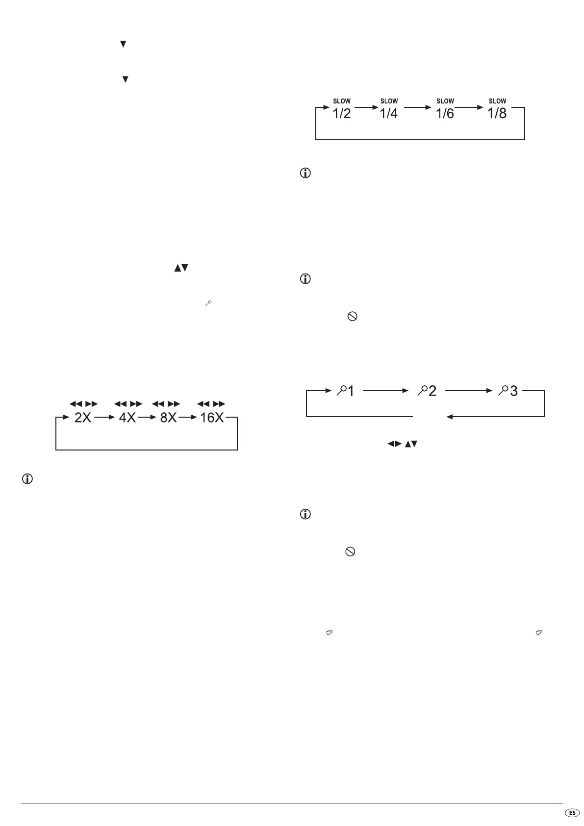
Reproducción lenta hacia delante (cámara lenta)
Para reproducir ralentizado el contenido del DVD/VCD/S-VCD introducido...
Para la reproducción lenta hacia delante/hacia atrás pulse repetida-
mente las teclas
SLOWF/SLOWR, para configurar las siguientes velocidades
de reproducción:
Indicación:
Durante la reproducción lenta no se reproduce el sonido.
Para continuar la reproducción de la película en el lugar seleccionado
a velocidad normal, pulse la tecla
PLAY durante la reproducción lenta.
En la pantalla aparecerá de nuevo Wiedergabe.
Aumento de la imagen (zoom)
Indicación:
Esta función puede no estar disponible en todos los DVD. Si intenta rea-
lizar una función no disponible aparecerá en la pantalla del televisor el
símbolo .
Durante la reproducción de un DVD/VCD/S-VCD introducido puede aumentar
la imagen de la pantalla del televisor en tres niveles. Pulse la tecla
ZOOM del
mando a distancia, para ajustar el nivel de aumento:
Con las teclas de control se puede desplazar la sección ampliada.
Para desactivar la función de ampliación y volver al tamaño normal de imagen
pulse la tecla
ZOOM una vez más; en la pantalla del televisor aparecerá Aus.
Cambiar el ángulo de cámara (angle)
Indicación:
Esta función puede no estar disponible en todos los DVD. Si intenta rea-
lizar una función no disponible aparecerá en la pantalla del televisor el
símbolo .
Algunas películas de DVD/VCD/S-VCD contienen capítulos en los que se
grabado la imagen desde diferentes perspectivas de cámara. En las películas
que disponen de este tipo de capítulos puede usted ver el mismo capítulo
desde diferentes perspectivas.
Para ello, durante la reproducción del DVD/VCD/S-VCD introducido, pulse
la tecla
ANGLE del mando a distancia. Cada vez que pulse la tecla ANGLE
se cambiará a una de las perspectivas de cámara disponibles.
AUS

Table of Contents

Related product manuals