EasyManua.ls Logo

Silvercrest KH 6779 - Page 39

Silvercrest KH 6779
98 pages
Go to English
To Next Page IconTo Next Page
To Next Page IconTo Next Page
To Previous Page IconTo Previous Page
To Previous Page IconTo Previous Page
Loading...
- 37 -
Premere il tasto di controllo per selezionare il campo di immissione
Kapitel contrassegnato con – – –. Con i tasti numerici da
0 a 9 inserire
il capitolo desiderato.
Premere il tasto di controllo per selezionare il campo di immissione
Zeit contrassegnato con – – : – – (per i SVCD: Disk-Zeit). Con i tasti
numerici da
0 a9 inserire la posizione cronologica espressa in ore, minuti
e secondi.
Esempio:
per avviare la riproduzione a 1 ora, 5 minuti e 30 secondi dall'inizio di
un film, premere in successione i tasti numerici …
0, 1 per 1 ora;
0, 5 per 5 minuti;
3, 0 per 30 secondi
Premere infine il tasto OK, per avviare la riproduzione nel punto selezionato.
Se si desidera cancellare una posizione nei campi di immissione, selezionare
la posizione da cancellare con i tasti di controllo e premere il tasto
CLR
sul telecomando.
La visualizzazione torna quindi a „– – –“.
Per disattivare il menu Suchen premere nuovamente il tasto
SEARCH sul tele-
comando.
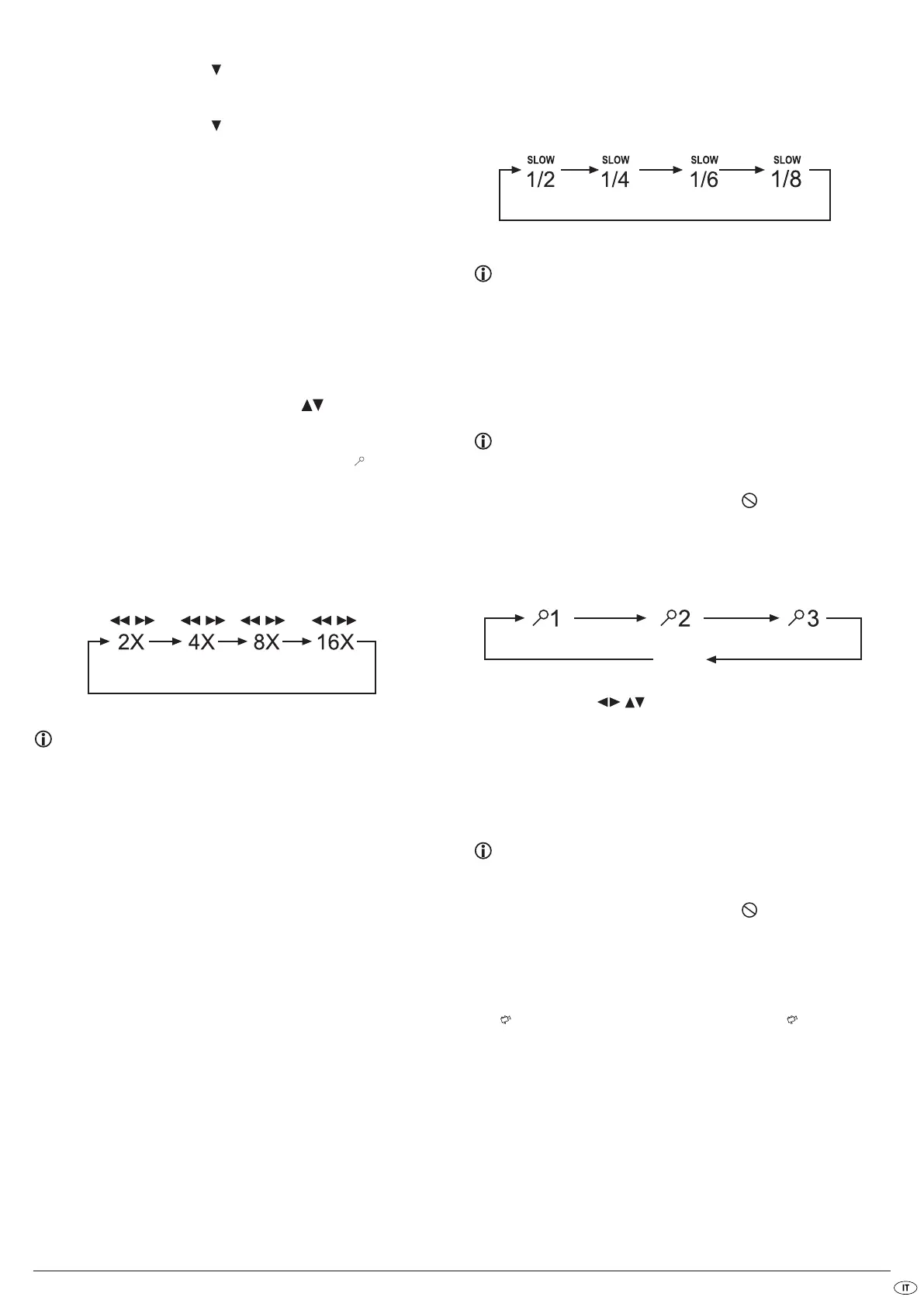
Ricerca rapida in avanti/a ritroso
Con la ricerca rapida, durante la riproduzione del DVD/VCD/S-VCD,
è possibile selezionare determinati passaggi.
Per la ricerca rapida in avanti/all'indietro, premere più volte il tasto
F.FWD o F.RWD, per impostare le seguenti velocità di ricerca:
Avvertenza:
durante la ricerca rapida non viene riprodotto alcun suono.
Per proseguire la riproduzione del film dal punto selezionato a velocità
normale, durante la ricerca rapida, premere il tasto
PLAY. Sul teleschermo
viene visualizzato nuovamente Wiedergabe.
Riproduzione al rallentatore in avanti (moviola)
Per riprodurre il contenuto del DVD/VCD/S-VCD inserito al rallentatore ...
Per eseguire la riproduzione al rallentatore in avanti/all'indietro, premere
più volte i tasti
SLOWF/SLOWR, per impostare le seguenti velocità di ripro-
duzione:
Suggerimento:
durante la riproduzione non viene emesso alcun suono.
Per proseguire la riproduzione da un punto selezionato a velocità normale,
durante la riproduzione al rallentatore premere il tasto
PLAY. Sul tele-
schermo viene visualizzato nuovamente Wiedergabe.
Ingrandimento immagini (zoom)
Suggerimento:
questa funzione selezionata potrebbe non essere disponibile per tutti i
DVD/VCD/S-VCD! Se si tenta di eseguire una funzione non disponibile,
sul teleschermo viene visualizzato il simbolo .
Durante la riproduzione di un DVD/VCD/S-VCD inserito, è possibile ingrandire
l'immagine sul teleschermo in tre fasi. Premere al riguardo il tasto
ZOOM sul
telecomando, per impostare i seguenti livelli di ingrandimento:
Con i tasti di controllo è possibile spostare la parte di immagine
ingrandita.
Per disattivare la funzione di ingrandimento e ritornare alla normale dimensione
delle immagini, premere il tasto
ZOOM un'altra volta; sul teleschermo verrà
visualizzato Aus.
Modifica della prospettiva della videocamera (Angle)
Avvertenza:
questa funzione selezionata potrebbe non essere disponibile per tutti i
DVD/VCD/S-VCD! Se si tenta di eseguire una funzione non disponibile,
sul teleschermo viene visualizzato il simbolo .
Alcuni film su DVD/VCD/S-VCD contengono capitoli che sono stati filmati
contemporaneamente da prospettive diverse. I film che dispongono di tali
capitoli possono visualizzare lo stesso capitolo da diverse prospettive.
Per farlo, durante la riproduzione del DVD/VCD/S-VCD inserito, premere il
tasto
ANGLE sul telecomando. Con ogni pressione del tasto ANGLE si passa
a una prospettiva diversa disponibile della videocamera.
AUS

Table of Contents

Related product manuals