EasyManua.ls Logo

Silvercrest KH 6779 - Page 63

Silvercrest KH 6779
98 pages
Go to English
To Next Page IconTo Next Page
To Next Page IconTo Next Page
To Previous Page IconTo Previous Page
To Previous Page IconTo Previous Page
Loading...
- 61 -
Press the control button to select the – – – marked input field Kapital.
Enter the desired chapter with the number buttons
0 to 9.
Press the control button to select the – – : – – : – – marked input
field Zeit (With S-VCDs: Disk-Zeit). With the number buttons
0 to 9 enter
the time position in hours, minutes and seconds.
Example:
To begin playback 1 hour, 5 minutes and 30 seconds from the start of a
film press successively the number buttons …
0, 1 for 1 hour;
0, 5 for 5 minutes;
3, 0 for 30 seconds
Subsequently press the
OK button to start playback at the selected position.
If you want to remove a position from the entry field select the position to be
removed with the control buttons and press the
CLR button on the remote
control.
The display now skips back to "– – –".
To fade out the Suchen menu press the button
SEARCH again on the remote
control.
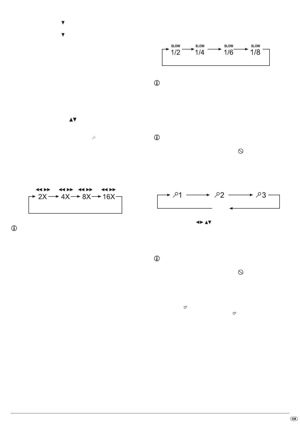
Fast scan forward/backward
With fast scan you can select designated passages from the inserted DVD/
VCD/S-VCD during playback.
For fast scan forwards/backwards press the
F.FWD and/or F.RWD
button repeatedly to set the following fast scan speeds:
Note:
During fast scan no sound will be played back.
To continue playback of the film from the selected position in normal speed,
during fast scan press the
PLAY button. Wiedergabe will appear on
the television screen.
Slow playback forward (Slow motion)
To playback the contents of the inserted DVD/VCD/S-VCD in slow motion …
For slow motion playback forwards/backwards press repeatedly the
buttons
SLOWF/SLOWR to set the following playback speeds:
Note:
During slow motion playback no sound will be played.
To continue playback from a selected position in normal speed, during
slow motion playback press the
PLAY button. Wiedergabe will appear
on the television screen.
Image enlargement (Zoom)
Note:
This function may not be available on all DVDs! If you attempt to execute
a function that is not available, the symbol is displayed on the tele-
vision screen.
During the playback of an inserted DVD/VCD/S-VCD you can enlarge the
image on the television screen in three levels. For this press the
ZOOM button
on the remote control to set the following enlargement levels:
With the control buttons sections of the enlargement can be switched.
To switch off the zoom function and return to the normal image size press the
ZOOM button once more; Aus will be displayed on the television screen.
Change camera aspect (Angle)
Note:
This function may not be available on all DVDs! If you attempt to execute
a function that is not available, the symbol is displayed on the tele-
vision screen.
Many films on DVD/VCD/S-VCD contain chapters which were recorded
simultaneously from various camera perspectives. With films that have such
chapters available you can view the same chapter from different perspectives.
For this press the
ANGLE button on the remote control during playback of an
inserted DVD/VCD/S-VCD. Each press of the
ANGLE button will switch to one
of the available camera perspectives.
AUS

Table of Contents

Related product manuals