EasyManua.ls Logo

Silvercrest SURQ 4 A1 - Adjusting the volume; Selecting the mode; Setting the date and time

Silvercrest SURQ 4 A1
68 pages
To Next Page IconTo Next Page
To Next Page IconTo Next Page
To Previous Page IconTo Previous Page
To Previous Page IconTo Previous Page
Loading...
SilverCrest SURQ 4 A1
English - 15
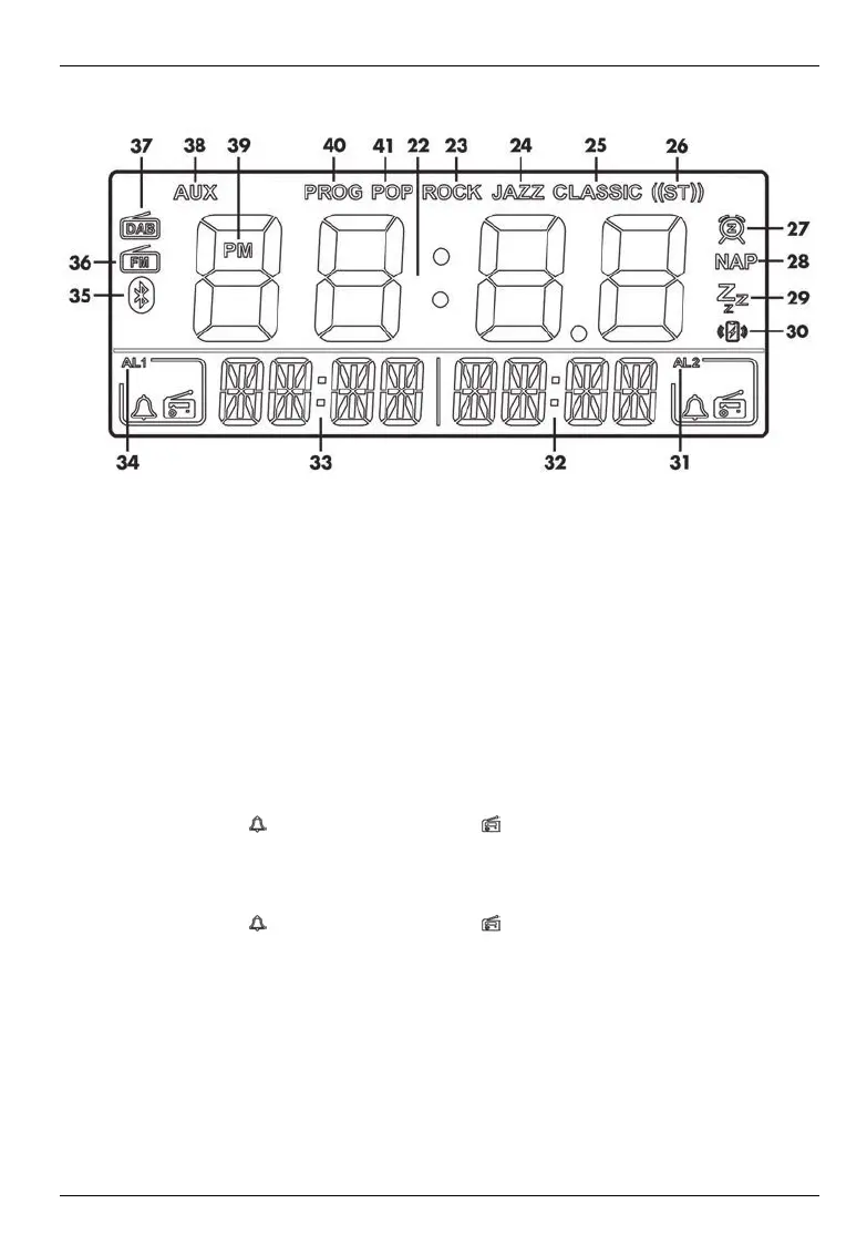
8.1 Display
22
Time
23
Equalizer settings [ROCK]
24
Equalizer settings [JAZZ]
25
Equalizer settings [CLASSIC]
26
Stereo reception (FM radio)
27
SNOOZE function enabled
28
NAP timer enabled
29
SLEEP timer enabled
30
Qi (wireless charging)
31
Alarm 2 active ( - Alarm type alarm sound / - Alarm type radio)
32
Display alarm time 2 (volume, radio frequency, station name, remaining time, etc.)
33
Display alarm time 1 (volume, radio frequency, station name, remaining time, etc.)
34
Alarm 1 active ( - Alarm type alarm sound / - Alarm type radio)
35
Bluetooth
®
36
FM radio
37
DAB radio
38
AUX mode
39
PM (indicates afternoon in 12-hour time mode)
40
PROG (store stations)
41
Audio settings [POP]

Table of Contents

Related product manuals