EasyManua.ls Logo

SilverStone ML09 - Page 13

SilverStone ML09
36 pages
Print Icon
To Next Page IconTo Next Page
To Next Page IconTo Next Page
To Previous Page IconTo Previous Page
To Previous Page IconTo Previous Page
Loading...
Installation Chart
Milo Series ML09
12
10
Bitte stecken Sie den Laufwerkkäfig angewinkelt in das Gehäuse, damit das optische Laufwerk an der Frontblende ausgerichtet
werden kann; anschließend mit Schrauben befestigen.
Por favor, inserte la carcasa para dispositivos en la carcasa en ángulo de modo que el dispositivo óptico se alinee con el panel
frontal, luego fíjela con los tornillos.
Inserire la gabbia dell'unità nel case ad un angolo in cui l'unità ottica sia allineata con il pannello anteriore, quindi fissare le viti.
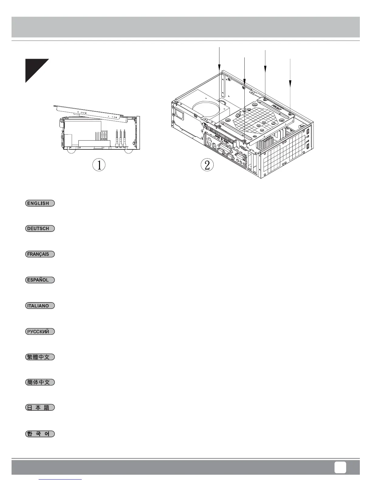
Please insert the drive cage into the case at an angle so the optical drive can line up with the front panel, then secure with
screws.
Пожалуйста, вставьте оптический привод в отсек корпуса так, чтобы он сравнялся с передней панелью корпуса, затем закрепите
привод шурупами.
광 드라이브가 전면 패널과 일렬이 되도록 각도를 맞춰 드라이브 케이지를 케이스에 삽입하십시오.
光碟機需要深入前面板,請把磁架斜著放入機身再鎖固。
光驱需要深入前面板,请把磁架斜着放入机身再锁固。
ドライブフロントパルと同ぶよう角調節して、ドラブケージをケーてからネジで固定ます
Veuillez insérer la cage du lecteur dans le boîtier avec un angle permettant au lecteur optique de s'aligner avec le panneau avant,
puis fixez-la avec des vis.

Related product manuals