EasyManua.ls Logo

Simco-Ion scorpION3 - Page 14

Simco-Ion scorpION3
56 pages
Print Icon
To Next Page IconTo Next Page
To Next Page IconTo Next Page
To Previous Page IconTo Previous Page
To Previous Page IconTo Previous Page
Loading...
scorpION3 5200969 Rev 4 9
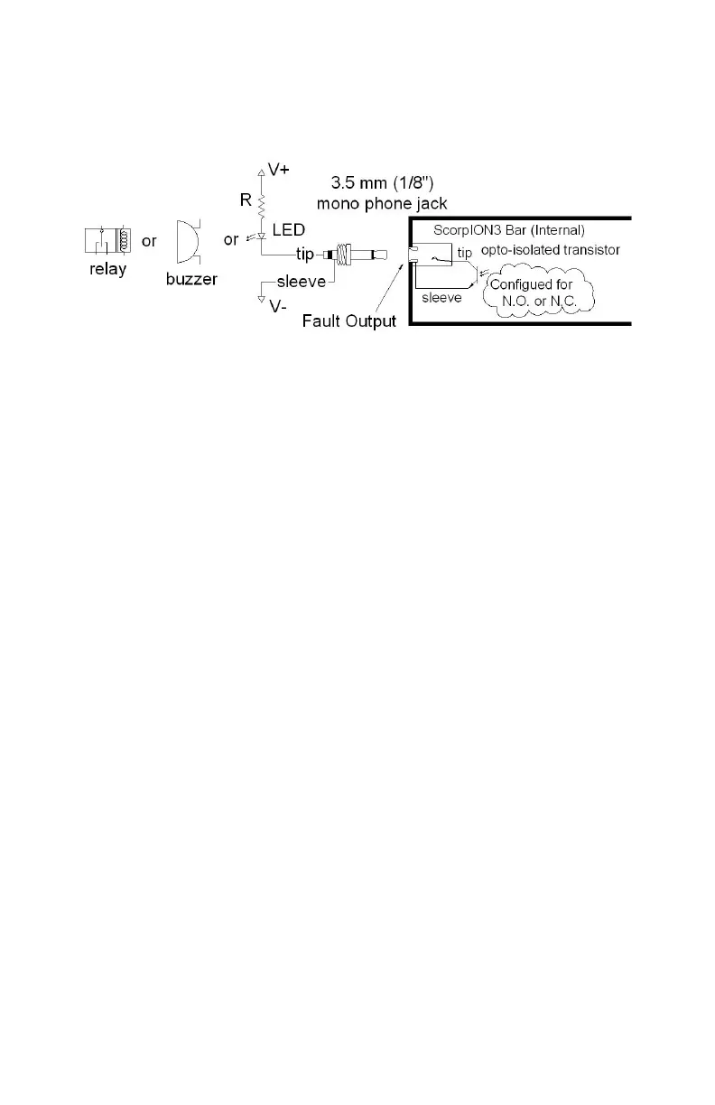
the Fault Contact setting with the MMI or through configuration
software using the CI.
The fault output transistor may be used to provide switching in order
to drive a variety of low current devices such as LEDs or buzzers,
relays may be used to switch power to higher power devices.