EasyManua.ls Logo

Skil RAS800 - Page 67

Skil RAS800
84 pages
Print Icon
To Next Page IconTo Next Page
To Next Page IconTo Next Page
To Previous Page IconTo Previous Page
To Previous Page IconTo Previous Page
Loading...
67
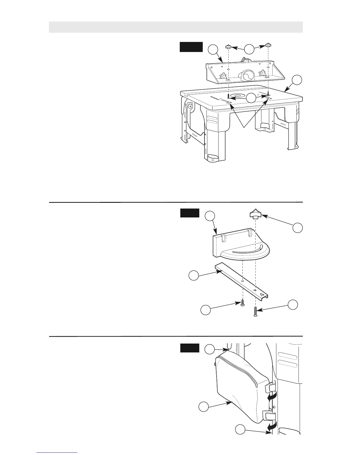
Instalación de la mesa de fresado
MO INSTALAR EL MONTAJE
DE LA GUÍA (Fig. 7)
L
a guía viene montada de brica. El paso 1 hace
r
eferencia al rearmado; si fuera necesario, dijase
a
l paso 2 si la guía ya se encuentra montada.
1
. Desde abajo, deslice dos pernos de carruaje de
1
/4-20 x 1¾" (32) a través de los orificios de la
parte inferior del montaje de la guía (C). Sujete
una perilla de sujeción (18) en cada perno sin
ajustar. (Ver Fig. 7.)
2. Introduzca las cabezas de los pernos de carruaje
(32) a través de los orificios de las ranuras en J
de la superficie de la mesa (1), verificando que
las cabezas de los pernos se encuentren por
debajo de la superficie interna de la superficie
de la mesa y que puedan deslizarse libremente
en la ranura en J.
3. Desde la parte trasera del montaje de la mesa,
deslice el montaje de la guía (C) dentro de
la ranura en J y verifique que se deslice sin
problemas desde el frente hasta la parte trasera.
4. Ajuste las perillas de fijación grandes (18) para
asegurar el montaje de la guía (C) en la posición
deseada.
1
C
18
32
FIG. 7
ENSAMBLADURA DEL CALIBRADOR
DE INGLETE (Fig. 8)
El montaje de la guía de inglete (D) viene armado
por completo. Si fuera necesario, utilice las
siguientes instrucciones para montarlo.
1. Coloque el tornillo de cabeza plana de auto-
enroscado tipo BT #10-16 x 1/2" (26) a tras
del orificio redondo en la barra de inglete (20) y
en la cabeza transportadora (21).
2. Apriete los tornillos de manera que la cabeza
del tornillo apenas toque la barra de inglete. La
cabeza transportadora debe girar cilmente. De
lo contrario afloje un poco los tornillos.
3. Introduzca el perno de carruaje #10-24 x 3/4"
(29) a través del orificio cuadrado de la barra
de inglete (20) y de la ranura de la guía de
inglete y ajuste con la perilla de fijación
pequeña (22).
22
29
20
21
FIG. 8
26
BOLSA DE ALMACENAMIENTO (Fig. 9)
La mesa de fresado (A) viene equipada con una
bolsa de almacenamiento de lona (9). La bolsa
de almacenamiento puede montarse en la parte
exterior o interior de las patas derecha o izquierda.
1. Separe los ganchos y tiras sujetos a la bolsa
de almacenamiento (9).
2. Coloque las tiras a través de las ranuras
ubicadas en los montajes de patas derecha o
izquierda (8 o 10).
3. Fije la bolsa de almacenamiento (9) a los
montajes de patas (8 o 10) presionando entre
los ganchos y las tiras.
FIG. 9
9
8
8
NOTA: Utilice la regla ubicada sobre la superficie
de la mesa cuando alinee la guía para realizar
operaciones de fresado. Una vez que la guía se
ha colocado y alineado correctamente, ajuste
FIRMEMENTE las perillas de sujeción.
Ranura
en J
Se quitó la fresadora
para mayor claridad

Related product manuals