EasyManua.ls Logo

Slaughter 2945 - Page 51

Default Icon
58 pages
Print Icon
To Next Page IconTo Next Page
To Next Page IconTo Next Page
To Previous Page IconTo Previous Page
To Previous Page IconTo Previous Page
Loading...
OPTIONS
45
Description
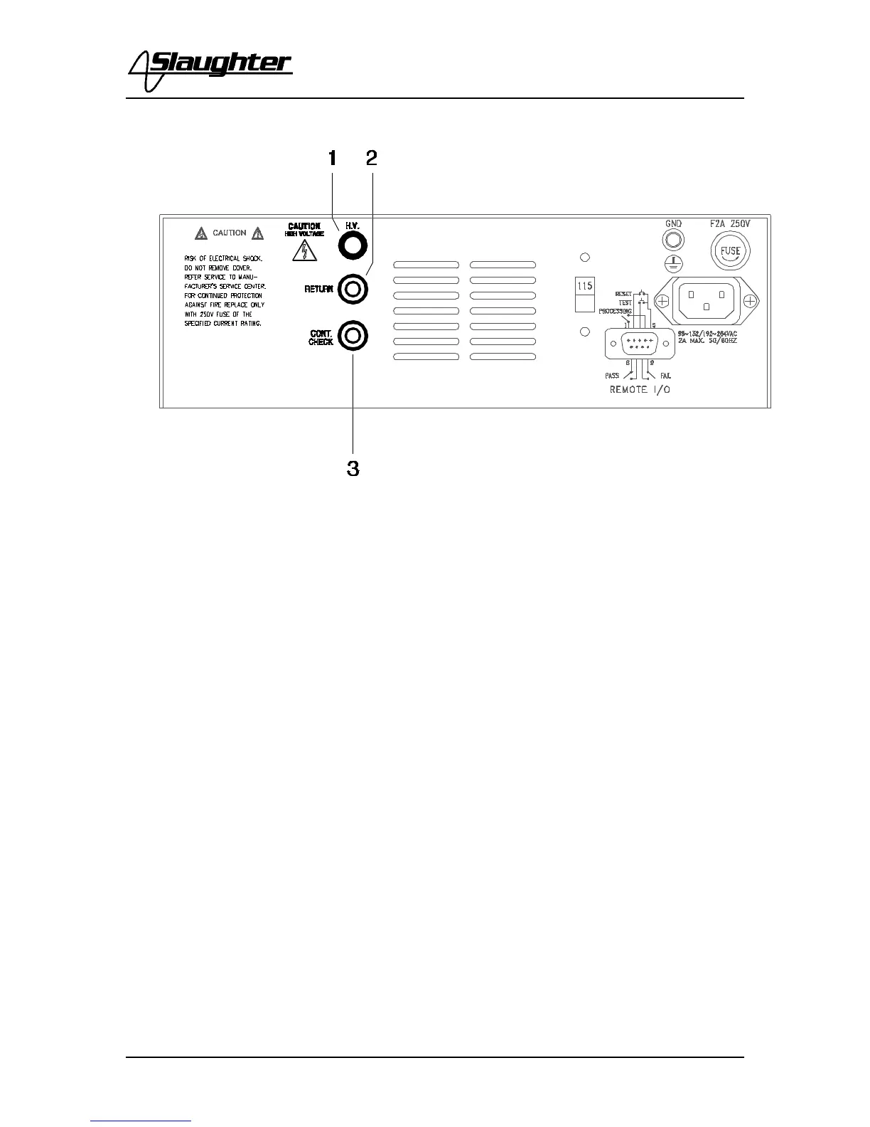
01 Rear Outputs
The Rear Outputs option gives the user the capability to access the High Voltage and
Return in addition to the existing Continuity output from the rear panel for use in
automated systems. The configuration and descriptions are as follows.
1. HIGH VOLTAGE OUTPUT JACK: For the connection of the detachable 5-foot
(1.52 m) red high voltage test lead. The silicone rubber insulation is flexible for easy
handling and is rated at 30KVDC. The jack is recessed for safety when this lead is
not being used.
2. RETURN OUTPUT JACK: For the connection of the detachable 5 foot (1.52 m)
black return test lead or three-prong receptacle adapter box. This jack is always used
when performing a test. Please refer section E. Adapter Box connection for details
on connecting the adapter box between the instrument and the device under test.
3. CONTINUITY CHECK OUTPUT JACK: For the connection of the detachable
5-foot (1.52 m) return test lead. This jack is always used when performing a
continuity test. Please refer section E. Adapter Box connection for details on
connecting the adapter box between the instrument and the device under test.
03 Remote Interlock
Option 03 is a Remote Interlock feature that inverts the present reset logic on the
instrument from normally opened (must close contacts to activate the reset) to normally
OPTIONAL REAR PANEL CONTROLS

Related product manuals