EasyManua.ls Logo

Smeg SAI63 - Description of the Appliance; Technical Characteristics; Control Panel

Smeg SAI63
20 pages
Print Icon
To Next Page IconTo Next Page
To Next Page IconTo Next Page
To Previous Page IconTo Previous Page
To Previous Page IconTo Previous Page
Loading...
7
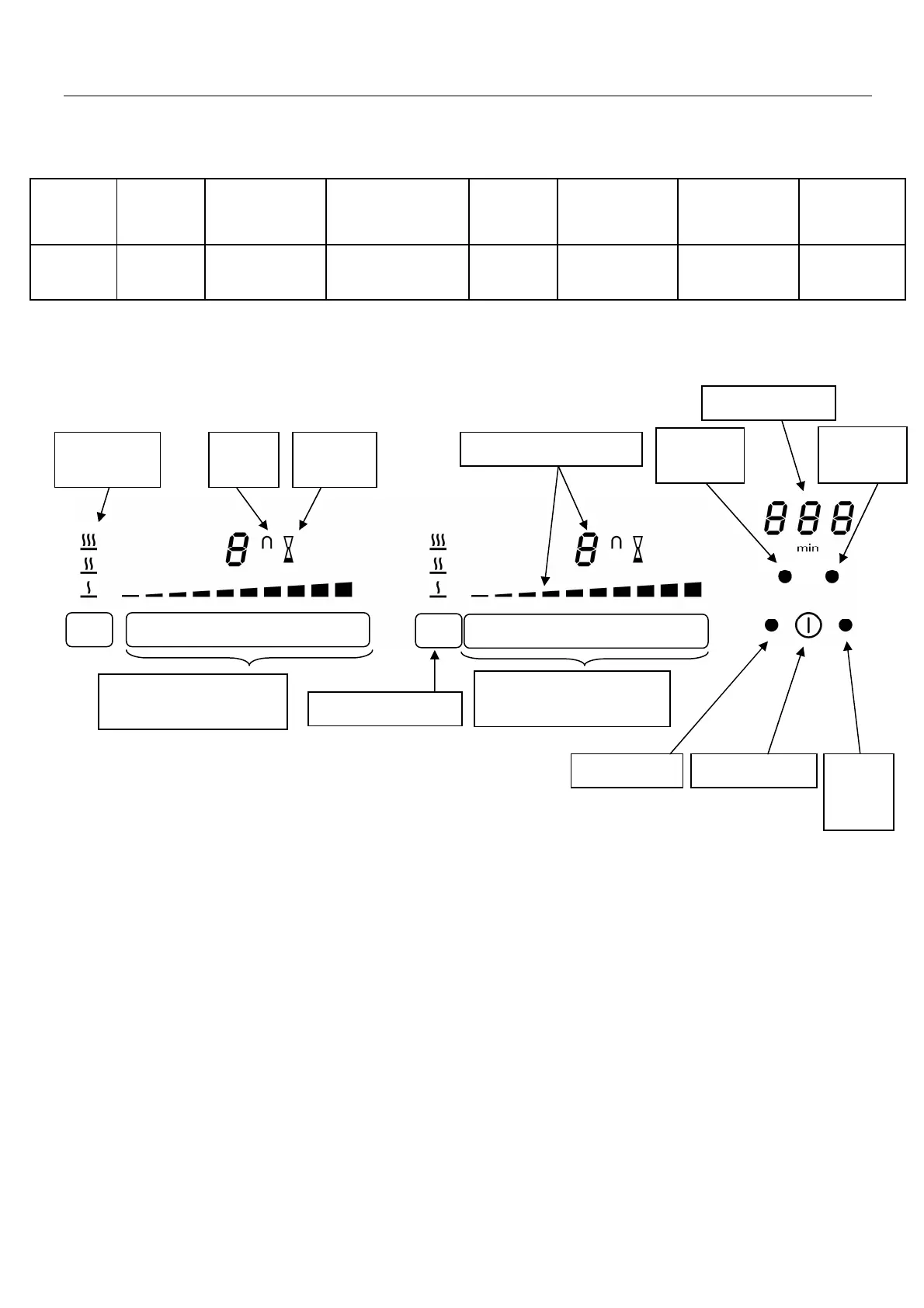
DESCRIPTION OF THE APPLIANCE
Technical characteristics
* The given power may change according to the dimensions and material of the pan.
Control panel
Type
Total
Power
Position of
the heating
zone
Diameter
Nominal
Power*
1
st
Booster
Power*
2
nd
Booster
Power*
Minimum
diameter
detection
SAI63
SAI73
7400 W
Left
Right
Ø260 mm
2x220x180 mm
2600 W
2100 W
3300 W
2600 W
5500 W
3700 W
120 mm
100 mm
Power selection zone
“Slider” (rear zone)
Power selection zone
“Slider” (front zone)
Keep warm key
On/Off key Locking key
Power display
Keep warm
displays
Bridge
display
Timer
display
Pause/
Recal
key
Timer key
[ + ]
Timer display
Timer key
[ - ]

Related product manuals