EasyManua.ls Logo

Smith GBX 70 - Annually (before Start of Heating Season)

Smith GBX 70
40 pages
Print Icon
To Next Page IconTo Next Page
To Next Page IconTo Next Page
To Previous Page IconTo Previous Page
To Previous Page IconTo Previous Page
Loading...
E. ANNUALLY (BEFORE START OF HEATING
SEASON)
1. Check flueways and burners for cleanliness and clean
if necessary. Use the following procedure if cleaning
is required:
a. Refer to the Lighting/Operating Instructions in
Figures 7.4 and 7.5 to properly turn off the gas to
the boiler.
b. Turn off all electrical power to the boiler.
c. Remove burners and brush orifice spuds lightly
using a soft bristle brush.
d. Remove the vent pipe, vent damper, top jacket
panels and flue collector/draft diverter.
e. Brush flueways with wire brush.
f. To the extent possible, inspect inside of vent pipe
and vent damper for obstructions in flow or vent
damper movement. Remove or replace as
necessary.
g. When replacing the flue collector/draft hood, be
certain that the blanket seal between the flue
collector and top section makes a tight seal to
prevent leakage of the products of combustion.
h. Re-install the top of the jacket, vent damper and
vent pipe.
i. Re-install burners.
2. Inspect entire venting system for corrosion, support
and joint integrity. Repair as necessary.
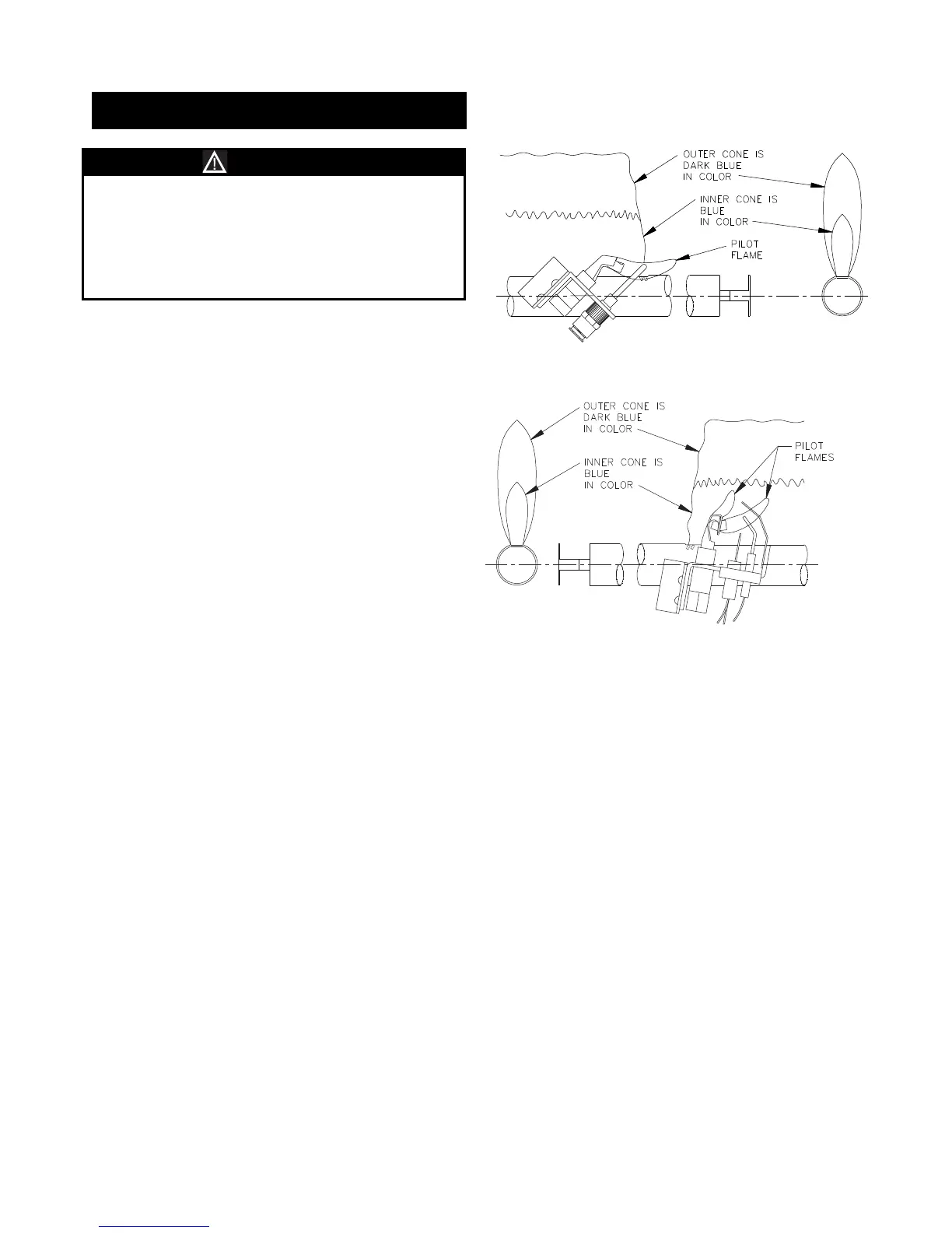
3. Check the pilot and main burner flame. See Figures
9.1 and 9.2. The pilot should provide a steady flame
enveloping 3/8 to 1/2 (1 cm to 1.2 cm) of the
flame sensor. If required, adjust the pilot as stated in
the gas valve manufacturer’s instructions or
paragraph 7.D. The main burner flame inner cone
should be approximately 1-1/2 (4 cm) high and
should have a very sharp, blue color characteristic.
INSTALLATION AND OPERATING INSTRUCTIONS
Figure 9.1: Standing Pilot and Main Burner Flame
Figure 9.2: Intermittent Pilot and Main
Burner Flame
When servicing or replacing components, be
absolutely certain that the following conditions are
met:
Water, gas and electricity are off.
The boiler is at room temperature.
There is no pressure in the boiler.
DANGER
32

Related product manuals