EasyManua.ls Logo

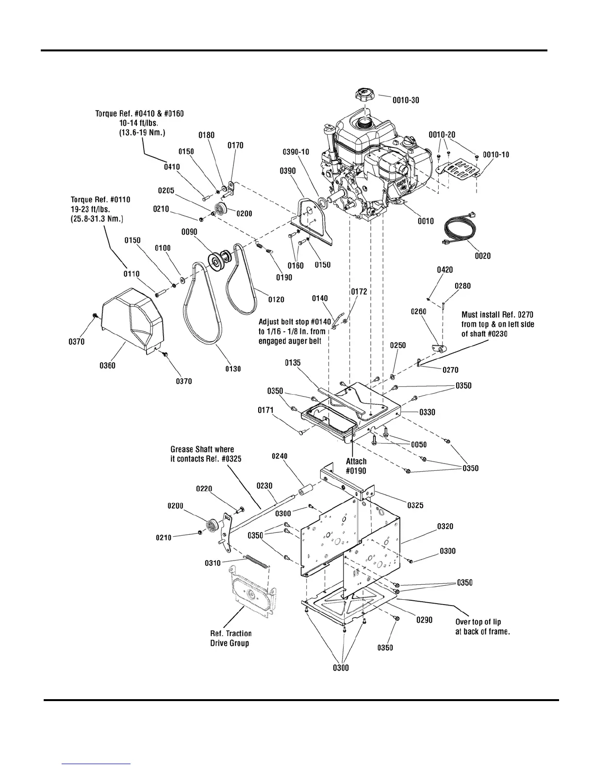
Snapper 1696000 - Engine & Frame Group

Snapper 1696000
28 pages
Print Icon
To Next Page IconTo Next Page
To Next Page IconTo Next Page
To Previous Page IconTo Previous Page
To Previous Page IconTo Previous Page
Loading...
Not for
Reproduction
Manual No.
7105282 24" 9TP TWO STAGE
2011
16
Engine & Frame Group

Related product manuals