EasyManua.ls Logo

Snapper 1696001 - Engine & Frame Group

Snapper 1696001
28 pages
Print Icon
To Next Page IconTo Next Page
To Next Page IconTo Next Page
To Previous Page IconTo Previous Page
To Previous Page IconTo Previous Page
Loading...
Not for
Reproduction
Manual No.
7105285 27" & 29" TWO STAGE
2011
16
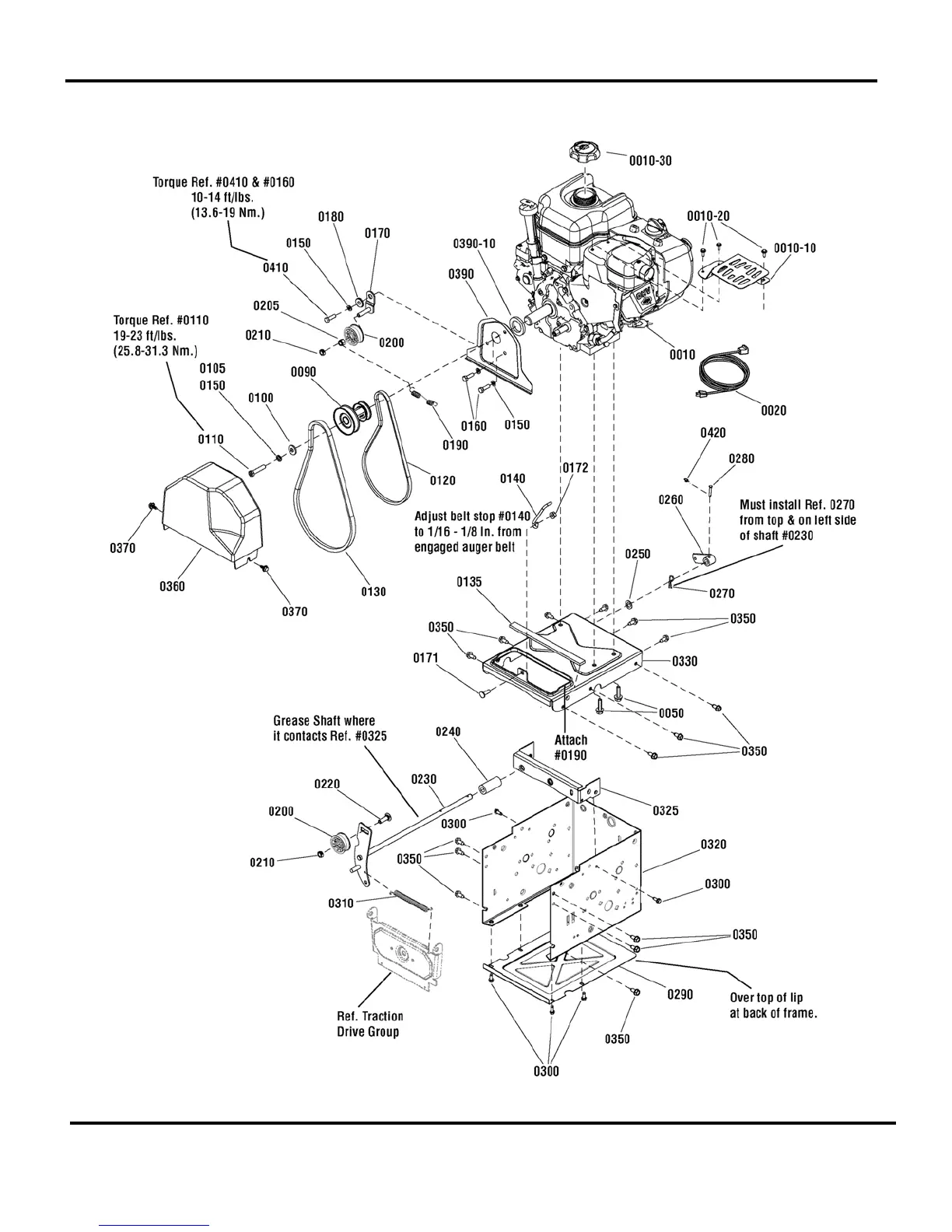
Engine & Frame Group

Related product manuals