EasyManua.ls Logo

Snapper E281022BE, E281222BE, E331522KVE - Check Blade Drive Belt; Check Blade Brake; Service Brake; Park Brake

Snapper E281022BE, E281222BE, E331522KVE
36 pages
Print Icon
To Next Page IconTo Next Page
To Next Page IconTo Next Page
To Previous Page IconTo Previous Page
To Previous Page IconTo Previous Page
Loading...
16
Section 3 - MAINTENANCE
WARNING
DO NOT attempt any adjustments, maintenance,
service or repairs with the engine running. Stop
engine. Stop blade. Engage parking brake. Remove
key. Remove spark plug wire from spark plug and
secure away from plug. Engine and components are
HOT. Avoid serious burns, allow all parts to cool
before working on machine. Fuel Filler Cap and Vent
must be closed securely to prevent fuel spillage.
3.2 SERVICE - AFTER FIRST 5 HOURS
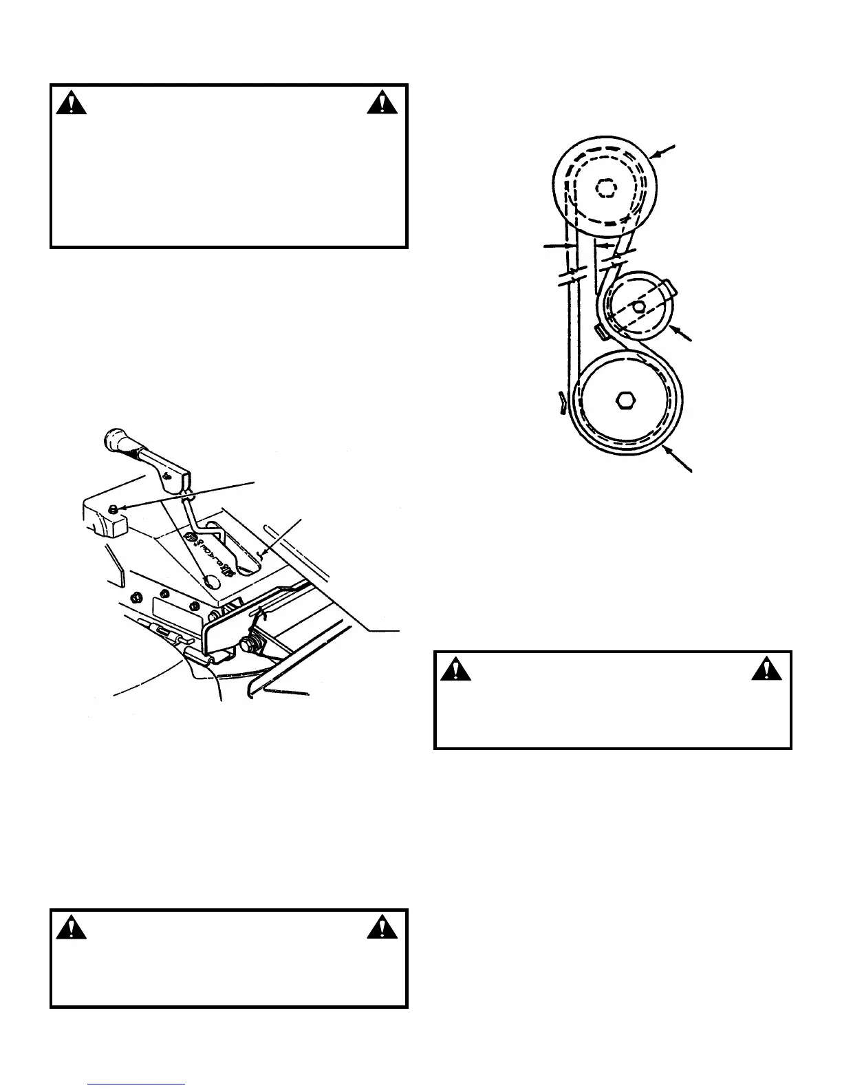
3.2.4. CHECK BLADE DRIVE BELT
The blade drive consists of a single belt from the
engine to the deck. Inspect for signs of deterioration
and proper tension.
1. Lower deck to lowest setting.
2. Remove four self-tapping screws, two on each
side of mower drive belt cover. See Figure 3.3.
3. Slide cover back and rotate out.
FIGURE 3.3
4. With engine “OFF” and deck in 3rd height of cut
position, move blade lever back to the “ON” position
and depress blade pedals.
5. 28” and 30” Decks: Measure the belt spacing at
idler pulley. See Figure 3.4. The belt spacing
should be 1 1/4” but no less 1”. If the measurement
is less than 1”, the belt tension should be adjusted.
Refer to Section “BLADE DRIVE BELT
ADJUSTMENT”.
WARNING
The following procedure requires the engine and
blades to be operated. Exercise extreme caution.
Clear area of loose parts & tools first. Only operate
blades when seated in the operator’s seat.
IMPORTANT: The blade drive belt on 33” decks does
not require tension adjustment. If the belt becomes worn
or slack it must be replaced. Refer to Section “BLADE
DRIVE BELT REPLACEMENT”.
FIGURE 3.4
3.2.5. BLADE BRAKE
1. Check blade brake for proper function. Blade
should stop rotating in 3 seconds or less after
moving the blade control lever to the “OFF” position
or after releasing the blade pedals.
WARNING
Blades must stop rotating in 3 seconds or less after
the blade has been turned off. DO NOT operate
machine until blade brake has been adjusted and
functioning properly.
2. If the blade continues to rotate longer than 3
seconds do not operate machine. Refer to Section
“BLADE BRAKE ADJUSTMENT” or contact your
SNAPPER dealer for assistance.
3.2.6. SERVICE BRAKE / PARK BRAKE
1. Check machine brake for proper function.
Engage park brake. Push machine. Rear tires should
skid. Drive machine forward and apply brake.
Machine should come to a complete stop in less
than 5 ft.
2. If brakes are not functioning properly brake
adjustment must be completed before operating
machine. Refer to Section “SERVICE BRAKE
PARK BRAKE ADJUSTMENT”.
BELT SPACING
SHOULD BE
1
-
1/4”
ENGINE
PULLEY
IDLER
PULLEY
MOWER
DECK
PULLEY
REMOVE FOUR (4)
SELF-TAPPING
SCREWS
REMOVE COVER

Table of Contents

Related product manuals