EasyManua.ls Logo

Snapper E281022BE, E281222BE, E331522KVE - Front Wheel Bearing - Lubrication; Rear Axle Bearing - Lubrication; Differential;Chain Case - Lubrication

Snapper E281022BE, E281222BE, E331522KVE
36 pages
Print Icon
To Next Page IconTo Next Page
To Next Page IconTo Next Page
To Previous Page IconTo Previous Page
To Previous Page IconTo Previous Page
Loading...
18
Section 3 - MAINTENANCE
3.3 SERVICE - EVERY 25 OPERATING HOURS
(Continued from previous page)
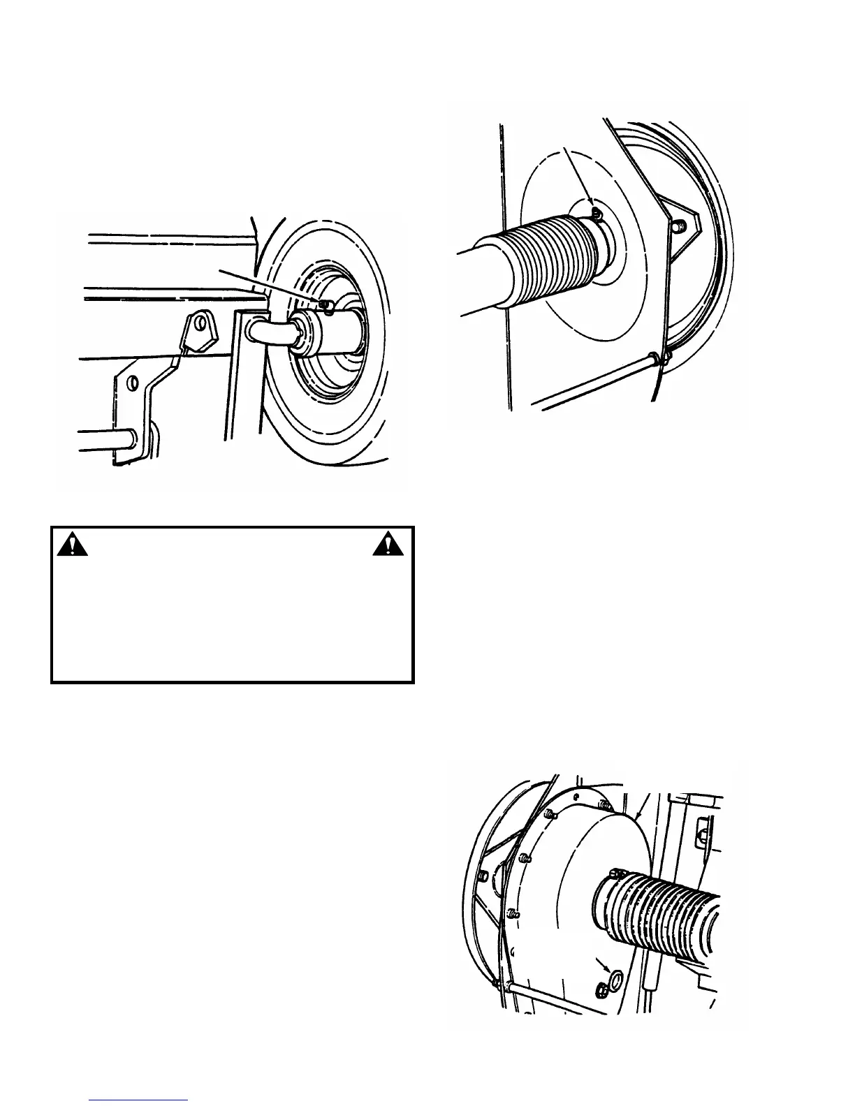
3.3.7. FRONT WHEEL BEARING - LUBRICATION
1. Lubricate front wheel bearings with five shots of
general purpose grease, from grease gun. See
Figure 3.6.
FIGURE 3.6
WARNING
DO NOT attempt any adjustments, maintenance,
service or repairs with the engine running. Stop
engine. Stop blade. Engage parking brake. Remove
key. Remove spark plug wire from spark plug and
secure away from plug. Engine and components are
HOT. Avoid serious burns, allow all parts to cool
before working on machine. Fuel Filler Cap and Vent
must be closed securely to prevent fuel spillage.
3.3.8. REAR AXLE BEARING - LUBRICATION
1. The left rear axle bearing requires three shots of
general purpose grease from a grease gun. See
Figure 3.7.
NOTE: Some models are equipped with a pre-
lubricated sealed bearing and require no additional
lubrication.
2. The right rear axle bearing is lubricated by the
differential lubricant and requires no grease.
FIGURE 3.7
3.3.9. DIFFERENTIAL/CHAIN CASE - LUBRICATION
1. Stand rear engine rider on its rear bumper and
check the fill/level plug, for cracks and wear. Replace
fill/level plug if signs of wear are visible.
IMPORTANT: If the Rear Engine Rider will be on
its rear bumper for longer than two hours, remove
the battery. Refer to Section “BATTERY
REMOVAL”.
2. To check lubricant, remove fill/level plug and
visually inspect for lubricant on the internal parts of the
differential. If no lubricant is visible on the internal
parts of the differential, add “SNAPPER Transmission”
grease as needed. See Figure 3.8.
IMPORTANT: Overfilling of the differential with
lubricant will cause lubricant to leak onto drive
components of the Rear Engine Rider.
FIGURE 3.8
FRONT WHEEL
GREASE FITTING
LEFT REAR
AXLE BEARING
GREASE
FITTING
FILL/LEVEL
PLUG P.N.
1-1024
DIFFERENTIAL

Table of Contents

Related product manuals