EasyManua.ls Logo

Snapper Lawn Mower Accessory - Page 60

Snapper Lawn Mower Accessory
68 pages
Print Icon
To Next Page IconTo Next Page
To Next Page IconTo Next Page
To Previous Page IconTo Previous Page
To Previous Page IconTo Previous Page
Loading...
60
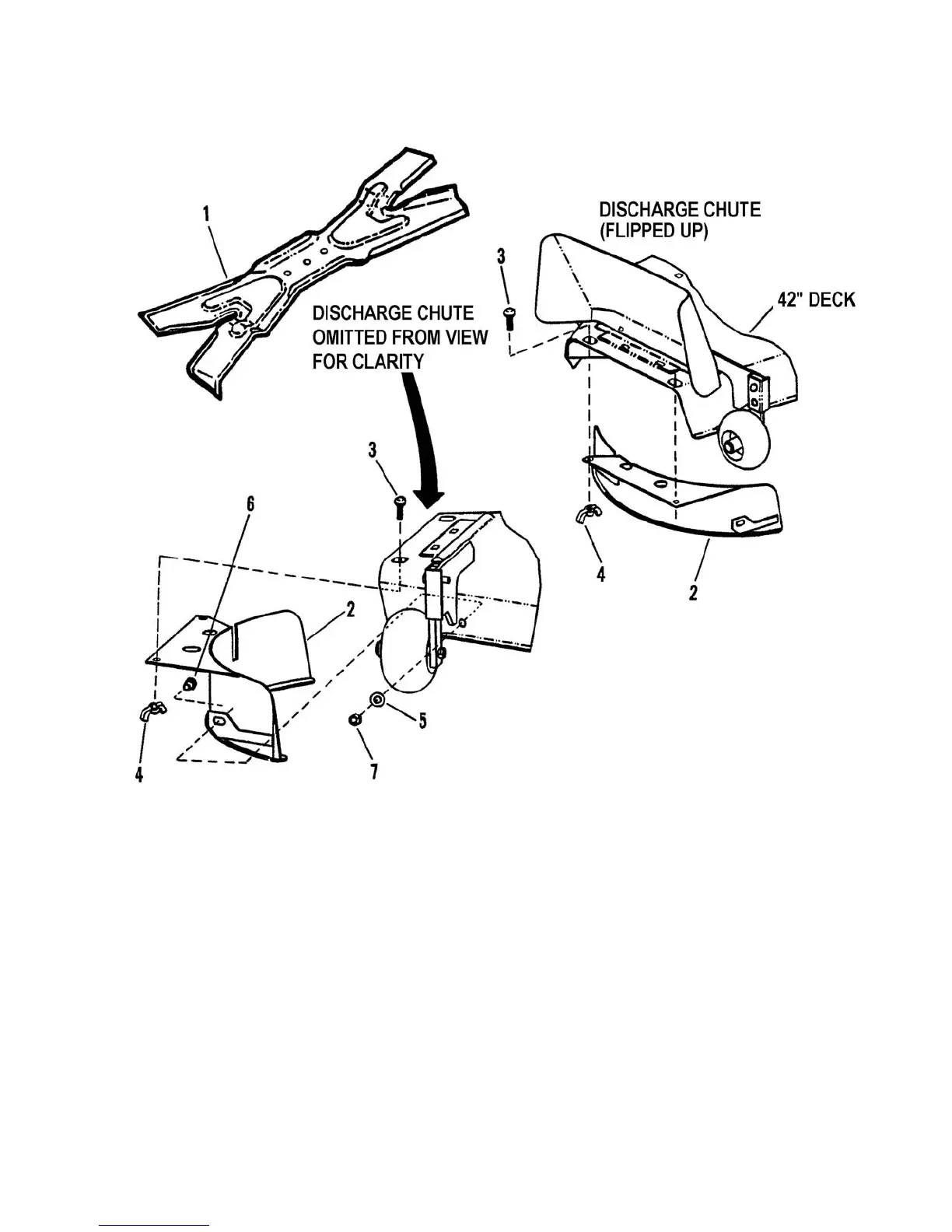
6-1987 ACCESSORY, 42” RECYCLE KIT
(for Series D and later models)
ITEM PART NO. DESCRIPTION
-- 6-1987 KIT, 42” Recycle (Includes items 1 thru 7)
1 2-6407 BLADE, 21” Ninja (2)
2 4-5087 WELDMENT, 42” Recycling Cover
3 9-0316 BOLT, 5/16-18 x 3/4” Square Neck Carriage, Grade 5 (2)
4 9-0375 WING-NUT, 5/16-18 (2)
5 9-1514 WASHER, 3/8” SAE Flat
6 9-1585 NUT, 3/8-16 Hex Center Lock, Grade 5 or B
7 9-1588 BOLT, 3/8-16 x 3/4” Hex Flange Lock, Grade 5
MANUAL No. 06613 LT SERIES (Small Frame)

Related product manuals