EasyManua.ls Logo

Snapper YZ18386BVE, YZ18386BVE - 2.4 SAFETY INTERLOCK SYSTEM CHECKS

Snapper YZ18386BVE, YZ18386BVE
36 pages
To Next Page IconTo Next Page
To Next Page IconTo Next Page
To Previous Page IconTo Previous Page
To Previous Page IconTo Previous Page
Loading...
10
Section 2 - OPERATING INSTRUCTIONS
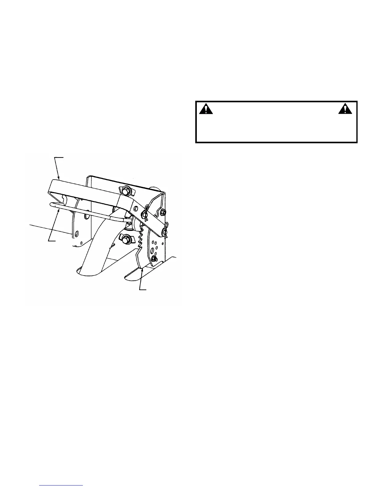
2.3.5. CUTTING HEIGHT ADJUSTMENT
This machine has seven different cutting height
positions. IMPORTANT: When positioning the cutting
deck into a higher cutting position, pull up on the deck
lift handle only, it is not necessary to pull up on the
release lever at the same time. Use the release lever
when moving deck cutting height to a lower cutting
position.
1. Grasp both handles together to disengage
latch.
2. Raise or lower handles to desired height.
3. Release lower handle to engage latch.
See Figure 2.9.
FIGURE 2.9
2.4 SAFETY INTERLOCK SYSTEM CHECKS
This machine is equipped with an electrical safety
interlock system that is provided for the safety of the
operator and others. All safety devices must be in place
and functioning properly before operating the machine.
Perform the following interlock system checks
periodically during the operating season. Contact your
authorized Snapper dealer if you have questions.
WARNING
DO NOT operate machine if any safety interlock or
safety device is not in place and functioning properly.
DO NOT attempt to defeat, modify or remove any safety
device.
ENGINE MUST NOT START IF:
1) Park Brake not in engaged position, OR,
2) Blade Switch in the “ON” blades engaged
position.
ENGINE SHOULD START IF:
1) Blade Switch in the “OFF” blades disengaged
position AND,
2) Park Brake in engaged position.
ENGINE MUST BEGIN TO STOP IF:
1) Operator rises off of seat with Blade Switch in
“ON” blades engaged position OR,
2) Operator rises off of seat with Park Brake not in
engaged position.
IMPORTANT: Engine will continue to run if Operator
becomes seated prior to engine coming to a
complete stop. To restart the blades, first move the
Blade Switch to the “OFF” position and then back to
the “ON” position. After coming to a complete stop,
the blade switch must be moved to the “OFF”
position and the Park Brake engaged before engine
can be restarted. Engine and blades must come to a
complete stop within 5 seconds after the operator
rises off the seat or the blade switch is moved to the
“OFF” position.
CONNECTING BAR OMITTED
IN THIS VIEW FOR CLARITY
DECK LIFT
HANDLE
RELEASE
LEVER
DETENT
PLATE

Table of Contents

Related product manuals