EasyManua.ls Logo

Sony BDV-E470 - Index to Parts and Control

Sony BDV-E470
84 pages
Print Icon
To Next Page IconTo Next Page
To Next Page IconTo Next Page
To Previous Page IconTo Previous Page
To Previous Page IconTo Previous Page
Loading...
10
US
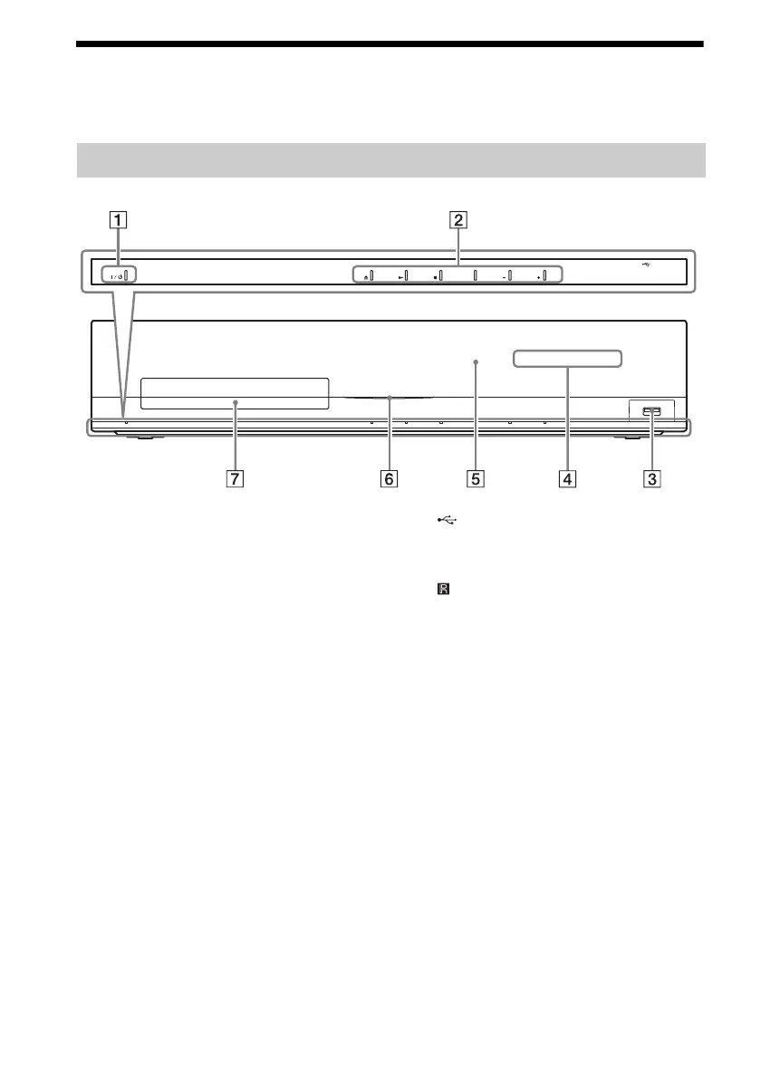
Index to Parts and Control
For more information, refer to the pages indicated in parentheses.
A "/1 (on/standby)
Turns on the unit, or sets it to standby mode.
B Play operation buttons
Z (open/close) (page 32)
Opens or closes the disc tray.
N (play)
Starts or re-starts playback (resume play).
Plays a slideshow when a disc containing
JPEG image files is inserted.
x (stop)
Stops playback and remembers the stop
point (resume point).
The resume point for a title/track is the last
point you played or the last photo for a
photo folder.
FUNCTION
Selects the playback source.
VOLUME +/–
Adjusts the system’s volume.
C (USB) port (page 33)
Used for connecting a USB device.
D Front panel display
E (remote sensor)
F Power indicator
Lights up while the system is turned on.
G Disc tray (page 32)
Front panel
FUNCTION VOLUME VOLUME

Table of Contents

Related product manuals