EasyManua.ls Logo

Sony BDV-E470 - Rear Panel

Sony BDV-E470
84 pages
Print Icon
To Next Page IconTo Next Page
To Next Page IconTo Next Page
To Previous Page IconTo Previous Page
To Previous Page IconTo Previous Page
Loading...
12
US
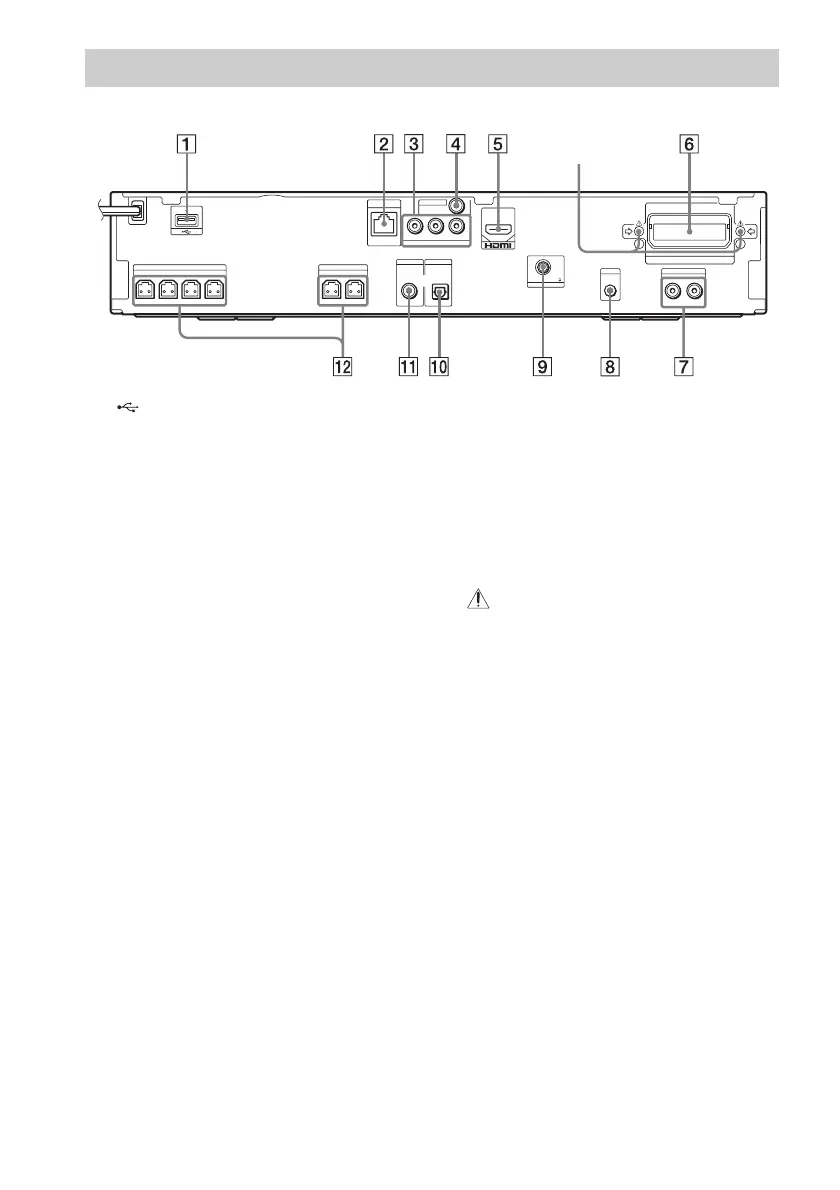
A (USB) port (page 33)
B LAN (100) terminal (page 27)
C COMPONENT VIDEO OUT jacks (page
23)
D VIDEO OUT jack (page 23)
E HDMI OUT jack (page 23)
F EZW-T100 slot (page 44)
G AUDIO (AUDIO IN L/R) jacks (page 25)
H A.CAL MIC jack (pages 28, 51)
I ANTENNA (FM COAXIAL 75Ω) jack
(page 26)
J TV (DIGITAL IN OPTICAL) jack (page
24)
K SAT/CABLE (DIGITAL IN COAXIAL)
jack (page 25)
L SPEAKERS jacks (page 22)
* CAUTION
Please do not remove the screws unless you
are installing the EZW-T100.
Rear panel
FRONT R
SPEAKERS
FRONT L
SUBWOOFER CENTER
SPEAKERS
SUR R SUR L
LAN(100)
COMPONENT VIDEO OUT
VIDEO OUT
Y
P
B
/ C
B
P
R
/ C
R
AUDI O
AUDIO INRL
A. CAL MIC
ECM-AC2
DIGITAL IN
COAXIAL
SAT/CABLE
DIGITAL IN
TV
OPTICAL
OUT
ARC
EZW-T100
COAXIAL
ANTENNA
FM
75
Screws*

Table of Contents

Related product manuals