EasyManua.ls Logo

Sony CDP-70 - Page 16

Sony CDP-70
20 pages
Print Icon
To Next Page IconTo Next Page
To Next Page IconTo Next Page
To Previous Page IconTo Previous Page
To Previous Page IconTo Previous Page
Loading...
CDP-770
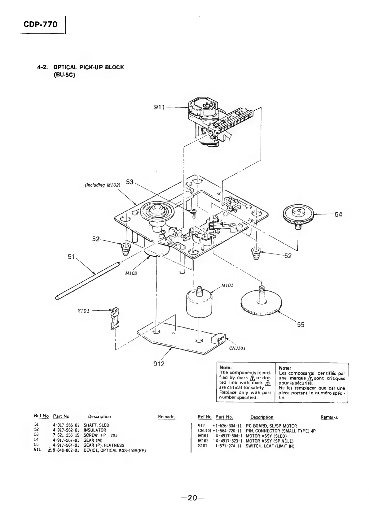
4-2.
OPTICAL
PICK-UP
BLOCK
(BU-5C)
(Including
M102)
51
$101
fo
CNJ101
Note:
Note:
The
components
identi-
Les
composants
identifiés
par
fied
by
mark
ordot-
|
une
marque
sont
critiques
ted
line
with
mark
pour
la
sécurité.
are
critical
for
safety.
Ne
les
remplacer
que
par
une
Replace
only
with
part
|
piéce
portant
le
numéro
spéci-
number
specified.
fié.
Ref.No
Part
No.
Description
Remarks
Ref.No
Part
No.
Description
Remarks
51
4-917-565-01
SHAFT,
SLED
912.
*
1-626-304-11
PC
BOARD,
SL/SP
MOTOR
52
4-917-562-01
INSULATOR
CNJ101
*
1-564-720-11
PIN,
CONNECTOR
(SMALL
TYPE)
4P
53
7-621-255-15
SCREW
+P
2x3
M101
=
X-4917-504-1
MOTOR
ASSY
(SLED)
54
4-917-567-01
GEAR
(M)
M102
=
X-4917-523-1
MOTOR
ASSY
(SPINDLE)
55
4-917-564-01
GEAR
(P),
FLATNESS
$101
1-571-274-11
SWITCH,
LEAF
(LIMIT
IN)
911
A\.8-848-062-01
DEVICE,
OPTICAL
KSS-150A(RP)

Related product manuals