EasyManua.ls Logo

Sony CDP-C345 - Page 32

Sony CDP-C345
35 pages
Print Icon
To Next Page IconTo Next Page
To Next Page IconTo Next Page
To Previous Page IconTo Previous Page
To Previous Page IconTo Previous Page
Loading...
*
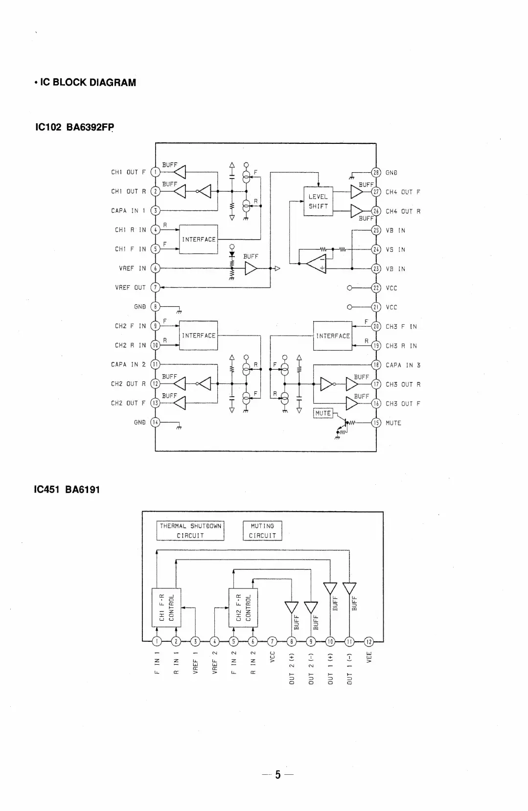
IC
BLOCK
DIAGRAM
IC102
BA6392FP
CHI
RIN
CHI
F
IN
VREF
IN
VREF
QUT
GNB
CH2
F
IN
CH2
RIN
CAPA
IN
2
CH2
OUT
R
CH2
OUT
F
GNA
1C451
BA6191
FIN
1
BUFF’
CHI
OUT
F
(1)
<]
CHI
OUT
R
(2)
CONTROL
RIN
1
VREF
1
()
VREF
2
THERMAL
SHUTDOWN
CIRCUIT
F
IN
2
(&)
RIN
2
(*)
MUT
ING
CIRCUIT
CONTROL
VCC
QUT
2
(+)
QUT
2
(-)
INTERFACE
QUT
1
(+)
OUT
1
(-)
CH4
OUT
F
CH4
OUT
R
VB
IN
CH3
F
IN
CH3
R_
IN
CAPA
IN
3
CH3
OUT
R
CHS
OUT
F
MUTE

Other manuals for Sony CDP-C345

Related product manuals